九联科技:2024年上半年亏损5444.07万元

中证智能财讯 九联科技(688609)8月24日披露2024年半年度报告。2024年上半年,公司实现营业收入13.37亿元,同比增长15.59%;归母净利润亏损5444.07万元,上年同期亏损2839.65万元;扣非净利润亏损5569.22万元,上年同期亏损2925.25万元;经营活动产生的现金流量净额为1.5亿元,上年同期为-1.65亿元;报告期内,九联科技基本每股收益为-0.1102元,加权平均净资产收益率为-5.44%。


以8月23日收盘价计算,九联科技目前市盈率(TTM)约为-17.96倍,市净率(LF)约为4.13倍,市销率(TTM)约为1.72倍。

公司近年市盈率(TTM)、市净率(LF)、市销率(TTM)历史分位图如下所示:



根据半年报,公司第二季度实现营业总收入6.75亿元,同比增长9.53%,环比增长1.98%;归母净利润-5896.4万元,同比下降58.71%,环比下降1403.57%;扣非净利润-5829.02万元,同比下降52.51%,环比下降2343.65%。

资料显示,公司主营业务为智能终端和通信模块及行业应用解决方案的研发、生产、销售与服务,运营服务及其他产品等。
2024年上半年,公司毛利率为13.71%,同比下降3.10个百分点;净利率为-4.48%,较上年同期下降1.84个百分点。从单季度指标来看,2024年第二季度公司毛利率为12.46%,同比下降3.19个百分点,环比下降2.53个百分点;净利率为-9.16%,较上年同期下降2.93个百分点,较上一季度下降9.46个百分点。

数据显示,2024年上半年公司加权平均净资产收益率为-5.44%,较上年同期下降3.16个百分点;公司2024年上半年投入资本回报率为-2.44%,较上年同期下降1.21个百分点。

2024年上半年,公司经营活动现金流净额为1.50亿元,同比增加3.15亿元,主要系本报告期销售商品、提供劳务收到的现金增加所致;筹资活动现金流净额-8658.44万元,同比减少3.33亿元;投资活动现金流净额-1.08亿元,上年同期为-8581.5万元。
进一步统计发现,2024年上半年公司自由现金流为-7288.04万元,上年同期为-16263.75万元。

2024年上半年,公司营业收入现金比为96.26%,净现比为-275.14%。

营运能力方面,2024年上半年,公司公司总资产周转率为0.42次,上年同期为0.39次(2023年上半年行业平均值为0.42次,公司位居同行业5/10);固定资产周转率为2.14次,上年同期为2.32次(2023年上半年行业平均值为4.69次,公司位居同行业7/10);公司应收账款周转率、存货周转率分别为1.41次、2.11次。

2024年上半年,公司期间费用为2.20亿元,较上年同期增加766.19万元;但期间费用率为16.44%,较上年同期下降1.90个百分点。其中,销售费用同比下降16.98%,管理费用同比增长12.84%,研发费用同比增长12.9%,财务费用同比增长50.93%。

资产重大变化方面,截至2024年上半年末,公司应收账款较上年末增加31.04%,占公司总资产比重上升4.94个百分点;存货较上年末减少12.03%,占公司总资产比重下降4.04个百分点;在建工程较上年末增加48.48%,占公司总资产比重上升1.69个百分点;其他非流动资产较上年末减少67.41%,占公司总资产比重下降1.24个百分点。

负债重大变化方面,截至2024年上半年末,公司应付账款较上年末增加44.55%,占公司总资产比重上升5.23个百分点;一年内到期的非流动负债较上年末增加127.04%,占公司总资产比重上升2.93个百分点;长期应付款合计较上年末增加252.73%,占公司总资产比重上升1.91个百分点;应付票据较上年末增加30.72%,占公司总资产比重上升0.47个百分点。

从存货变动来看,截至2024年上半年末,公司存货账面价值为5.11亿元,占净资产的52.19%,较上年末减少6985.17万元。其中,存货跌价准备为5285.51万元,计提比例为9.38%。

在偿债能力方面,公司2024年上半年末资产负债率为70.94%,相比上年末上升4.99个百分点;有息资产负债率为37.31%,相比上年末下降1.37个百分点。

2024年上半年,公司流动比率为1.14,速动比率为0.87。

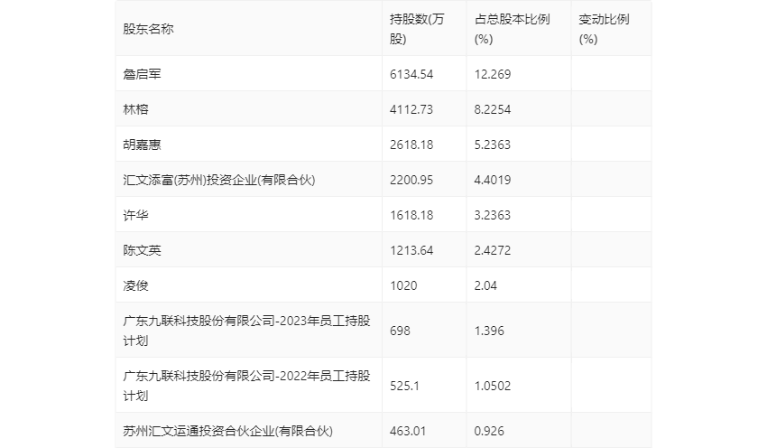
半年报显示,2024年上半年末公司十大流通股东中,新进股东为苏州汇文运通投资合伙企业(有限合伙),取代了一季度末的广东九联科技股份有限公司回购专用证券账户。

筹码集中度方面,截至2024年上半年末,公司股东总户数为2.06万户,较一季度末增长了1724户,增幅9.14%;户均持股市值由一季度末的32.03万元下降至21.43万元,降幅为33.09%。

指标注解:
市盈率
=总市值/净利润。当公司亏损时市盈率为负,此时用市盈率估值没有实际意义,往往用市净率或市销率做参考。
市净率
=总市值/净资产。市净率估值法多用于盈利波动较大而净资产相对稳定的公司。
市销率
=总市值/营业收入。市销率估值法通常用于亏损或微利的成长型公司。
文中市盈率和市销率采用TTM方式,即以截至最近一期财报(含预报)12个月的数据计算。市净率采用LF方式,即以最近一期财报数据计算。
市盈率为负时,不显示当期分位数,会导致折线图中断。