亚辉龙:12月4日高管胡鹍辉减持股份合计30万股
证券之星消息,根据12月5日市场公开信息、上市公司公告及交易所披露数据整理,亚辉龙(688575)最新董监高及相关人员股份变动情况:2025年12月4日公司董事胡鹍辉共减持公司股份30.0万股,占公司总股本为0.0525%。变动期间公司股价下跌1.5%,12月4日当日收盘报14.4元。
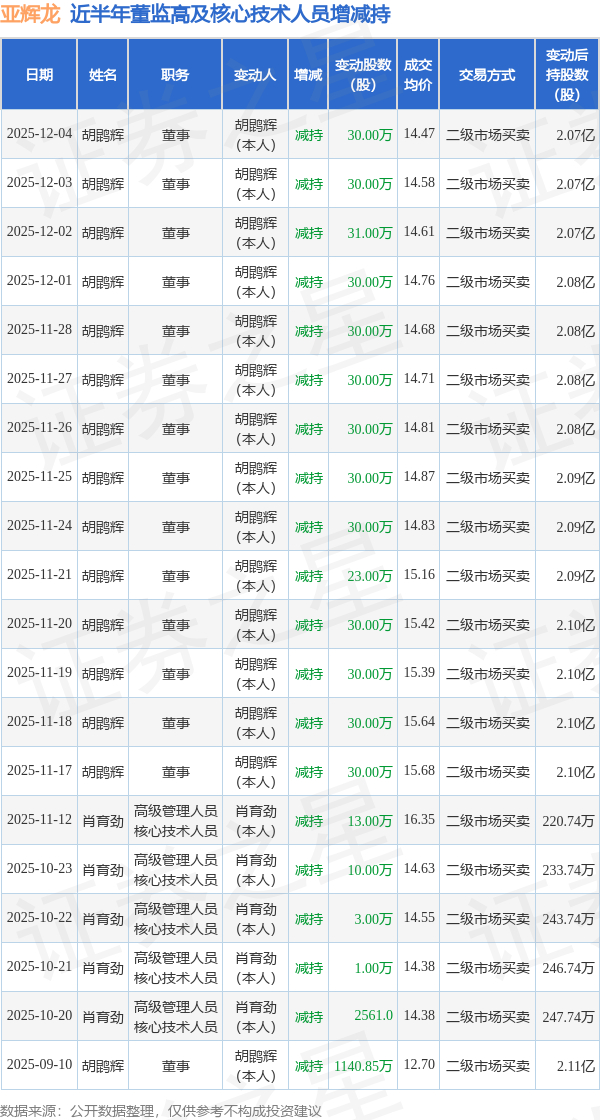
亚辉龙近半年内的董监高及核心技术人员增减持详情如下:

亚辉龙的高管列表及最新持股情况如下:

融资融券数据显示该股近5日融资净流入844.49万,融资余额增加;融券净流出1500.0,融券余额减少。
该股最近90天内共有9家机构给出评级,买入评级6家,增持评级3家;过去90天内机构目标均价为17.97。
以上内容为证券之星据公开信息整理,由AI算法生成(网信算备310104345710301240019号),不构成投资建议。