查股网.CN
首页
选股
热点
资金
板块
大盘
DDX
游资
龙虎
导航
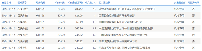
石头科技今日大宗交易折价成交21.1万股,成交额4331.19万元
石头科技今日大宗交易折价成交21.1万股,成交额4331.19万元
查股网
2024-12-12 20:53
石头科技(688169)个股分析
石头科技
12月12日大宗交易成交21.1万股,成交额4331.19万元,占当日总成交额的4.41%,成交价205.27元,较市场收盘价223.12元折价8.0%。