江苏新能:2024年上半年净利润2.92亿元 同比下降13.60%

中证智能财讯 江苏新能(603693)8月28日披露2024年半年度报告。2024年上半年,公司实现营业收入10.49亿元,同比下降3.90%;归母净利润2.92亿元,同比下降13.60%;扣非净利润2.81亿元,同比下降14.89%;经营活动产生的现金流量净额为4.69亿元,同比下降7.91%;报告期内,江苏新能基本每股收益为0.33元,加权平均净资产收益率为4.47%。



以8月27日收盘价计算,江苏新能目前市盈率(TTM)约为20.91倍,市净率(LF)约为1.35倍,市销率(TTM)约为4.68倍。

公司近年市盈率(TTM)、市净率(LF)、市销率(TTM)历史分位图如下所示:



根据半年报,公司第二季度实现营业总收入3.82亿元,同比下降28.82%,环比下降42.67%;归母净利润4196.91万元,同比下降74.10%,环比下降83.24%;扣非净利润3549.04万元,同比下降77.51%,环比下降85.53%。

资料显示,公司所属行业为电力、热力生产和供应业(D44)。主要从事风能发电、光伏发电、生物质能发电供热等新能源业务的投资、建设、运营。
分产品来看,2024年上半年公司主营业务中,电力收入9.97亿元,同比下降1.79%,占营业收入的95.07%;供汽供水收入0.47亿元,同比下降34.96%,占营业收入的4.46%。

2024年上半年,公司毛利率为53.67%,同比下降2.44个百分点;净利率为33.28%,较上年同期下降3.53个百分点。从单季度指标来看,2024年第二季度公司毛利率为37.23%,同比下降17.79个百分点,环比下降25.87个百分点;净利率为10.44%,较上年同期下降25.57个百分点,较上一季度下降35.93个百分点。

分产品看,电力、供汽供水2024年上半年毛利率分别为56.67%、-2.15%。
盈利能力方面, 2024年半年度公司加权平均净资产收益率为4.47%,同比下降0.97个百分点。公司2024年上半年投入资本回报率为3.43%,较上年同期下降0.29个百分点。

2024年上半年,公司经营活动现金流净额为4.69亿元,同比下降7.91%;筹资活动现金流净额-3688.09万元,同比减少5274.20万元;投资活动现金流净额-2.28亿元,上年同期为-2.78亿元。
进一步统计发现,2024年上半年公司自由现金流为4.08亿元,相比上年同期增长2.17%。

2024年上半年,公司营业收入现金比为82.49%,净现比为160.41%。

2024年上半年,公司期间费用为1.83亿元,较上年同期减少310.18万元;但期间费用率为17.42%,较上年同期上升0.39个百分点。其中,管理费用同比下降0.88%,研发费用为22.65万元,财务费用同比下降2.23%。

资产重大变化方面,截至2024年上半年末,公司固定资产较上年末增加0.50%,占公司总资产比重下降1.87个百分点;应收账款较上年末增加12.06%,占公司总资产比重上升1.32个百分点;货币资金较上年末增加15.94%,占公司总资产比重上升0.94个百分点;在建工程较上年末减少75.33%,占公司总资产比重下降0.49个百分点。

负债重大变化方面,截至2024年上半年末,公司应付账款较上年末增加11.45%,占公司总资产比重上升0.60个百分点;长期应付款合计较上年末减少3.40%,占公司总资产比重下降0.86个百分点;一年内到期的非流动负债较上年末增加10.14%,占公司总资产比重上升0.21个百分点;应交税费较上年末减少38.15%,占公司总资产比重下降0.12个百分点。

从存货变动来看,截至2024年上半年末,公司存货账面价值为1772.01万元,占净资产的0.27%。其中,存货跌价准备为199.7万元,计提比例为10.13%。

在偿债能力方面,公司2024年上半年末资产负债率为54.84%,相比上年末下降0.32个百分点;有息资产负债率为32.42%,相比上年末上升0.18个百分点。

2024年上半年,公司流动比率为2.17,速动比率为2.16。

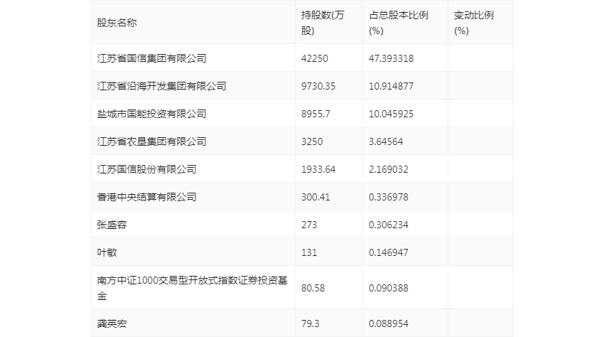
半年报显示,2024年上半年末公司十大流通股东中,新进股东为南方中证1000交易型开放式指数证券投资基金、龚英宏,取代了一季度末的沙惠明、王爱婷。在具体持股比例上,香港中央结算有限公司持股有所上升,江苏省沿海开发集团有限公司、张盛容持股有所下降。

筹码集中度方面,截至2024年上半年末,公司股东总户数为3.42万户,较一季度末增长了2636户,增幅8.36%;户均持股市值由一季度末的29.09万元上升至30.32万元,增幅为4.23%。

指标注解:
市盈率
=总市值/净利润。当公司亏损时市盈率为负,此时用市盈率估值没有实际意义,往往用市净率或市销率做参考。
市净率
=总市值/净资产。市净率估值法多用于盈利波动较大而净资产相对稳定的公司。
市销率
=总市值/营业收入。市销率估值法通常用于亏损或微利的成长型公司。
文中市盈率和市销率采用TTM方式,即以截至最近一期财报(含预报)12个月的数据计算。市净率采用LF方式,即以最近一期财报数据计算。
市盈率为负时,不显示当期分位数,会导致折线图中断。