惠达卫浴:2023年亏损1.97亿元

中证智能财讯 惠达卫浴(603385)4月26日披露2023年年报。2023年,公司实现营业总收入36.04亿元,同比增长5.38%;归母净利润亏损1.97亿元,上年同期盈利1.28亿元;扣非净利润亏损3.10亿元,上年同期盈利9268.73万元;经营活动产生的现金流量净额为5.04亿元,同比增长9.33%;报告期内,惠达卫浴基本每股收益为-0.51元,加权平均净资产收益率为-5.22%。
报告期内,公司合计非经常性损益为1.14亿元,其中计入当期损益的政府补助,但与公司正常经营业务密切相关、符合国家政策规定、按照确定的标准享有、对公司损益产生持续影响的政府补助除外为4742.13万元。

以4月25日收盘价计算,惠达卫浴目前市盈率(TTM)约为-10.37倍,市净率(LF)约为0.56倍,市销率(TTM)约为0.57倍。

公司近年市盈率(TTM)、市净率(LF)、市销率(TTM)历史分位图如下所示:



数据统计显示,惠达卫浴近三年营业总收入复合增长率为3.85%,在家居用品行业已披露2023年数据的50家公司中排名第33。近三年净利润复合年增长率为-186.17%,排名44/50。

分产品来看,2023年公司主营业务中,卫生陶瓷收入17.34亿元,同比增长0.39%,占营业收入的48.12%;墙地砖收入7.24亿元,同比增长23.54%,占营业收入的20.10%;五金洁具收入4.99亿元,同比下降5.13%,占营业收入的13.86%。

截至2023年末,公司员工总数为8202人,人均创收43.93万元,人均创利-2.40万元,人均薪酬9.63万元,较上年同期分别变化12.00%、-263.02%、-3.29%。

2023年,公司毛利率为25.34%,同比上升0.53个百分点;净利率为-5.55%,较上年同期下降9.12个百分点。从单季度指标来看,2023年第四季度公司毛利率为22.84%,同比下降2.75个百分点,环比下降5.95个百分点;净利率为-17.85%,较上年同期下降21.79个百分点,较上一季度下降9.46个百分点。

分产品看,卫生陶瓷、墙地砖、五金洁具2023年毛利率分别为25.77%、16.05%、36.30%。

报告期内,公司前五大客户合计销售金额8.78亿元,占总销售金额比例为24.83%,公司前五名供应商合计采购金额4.60亿元,占年度采购总额比例为17.57%。

数据显示,2023年公司加权平均净资产收益率为-5.22%,较上年同期下降8.53个百分点;公司2023年投入资本回报率为-3.69%,较上年同期下降6.57个百分点。

2023年,公司经营活动现金流净额为5.04亿元,同比增长9.33%;筹资活动现金流净额-1.13亿元,同比增加1.30亿元;投资活动现金流净额-4.58亿元,上年同期为-3.21亿元。
进一步统计发现,2023年公司自由现金流为4.45亿元,相比上年同期下降23.55%。

2023年,公司营业收入现金比为100.67%,净现比为-256.47%。

营运能力方面,2023年,公司公司总资产周转率为0.61次,上年同期为0.56次(2022年行业平均值为0.67次,公司位居同行业47/70);固定资产周转率为2.06次,上年同期为1.90次(2022年行业平均值为2.89次,公司位居同行业54/70);公司应收账款周转率、存货周转率分别为4.30次、2.49次。

2023年,公司期间费用为7.72亿元,较上年同期增加9338.63万元;期间费用率为21.43%,较上年同期上升1.58个百分点。其中,销售费用同比增长20.72%,管理费用同比下降0.3%,研发费用同比增长5.93%,财务费用由去年同期的-1358.38万元变为829.72万元。

资产重大变化方面,截至2023年年末,公司债权投资合计较上年末增加37.25%,占公司总资产比重上升6.75个百分点;应收票据较上年末减少72.06%,占公司总资产比重下降2.54个百分点;应收账款较上年末减少14.95%,占公司总资产比重下降1.96个百分点;存货较上年末减少11.96%,占公司总资产比重下降1.90个百分点。

负债重大变化方面,截至2023年年末,公司一年内到期的非流动负债较上年末增加64.12%,占公司总资产比重上升2.18个百分点;应付票据较上年末增加42.37%,占公司总资产比重上升1.78个百分点;合同负债较上年末增加124.88%,占公司总资产比重上升1.41个百分点;短期借款较上年末减少28.25%,占公司总资产比重下降1.00个百分点。

从存货变动来看,截至2023年年末,公司存货账面价值为10.1亿元,占净资产的27.69%,较上年末减少1.37亿元。其中,存货跌价准备为3764.27万元,计提比例为3.59%。

2023年全年,公司研发投入金额为1.50亿元,同比增长5.93%;研发投入占营业收入比例为4.16%,相比上年同期上升0.02个百分点。此外,公司全年研发投入资本化率为0。

在偿债能力方面,公司2023年年末资产负债率为34.36%,相比上年末上升2.76个百分点;有息资产负债率为8.15%,相比上年末下降0.36个百分点。

2023年,公司流动比率为1.31,速动比率为0.76。

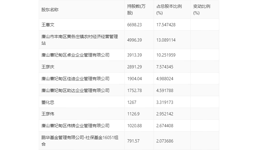
年报显示,2023年年末公司十大流通股东中,持股最多的为王惠文,占比17.55%。十大流通股东名单相比2023年三季报维持不变。在具体持股比例上,王惠文、王彦庆、王彦伟、鹏华基金管理有限公司-社保基金16051组合持股有所上升。

筹码集中度方面,截至2023年年末,公司股东总户数为1.61万户,较三季度末下降了205户,降幅1.25%;户均持股市值由三季度末的19.43万元下降至18.95万元,降幅为2.47%。

指标注解:
市盈率
=总市值/净利润。当公司亏损时市盈率为负,此时用市盈率估值没有实际意义,往往用市净率或市销率做参考。
市净率
=总市值/净资产。市净率估值法多用于盈利波动较大而净资产相对稳定的公司。
市销率
=总市值/营业收入。市销率估值法通常用于亏损或微利的成长型公司。
文中市盈率和市销率采用TTM方式,即以截至最近一期财报(含预报)12个月的数据计算。市净率采用LF方式,即以最近一期财报数据计算。
市盈率为负时,不显示当期分位数,会导致折线图中断。