翠微股份:2024年第一季度亏损1.10亿元

中证智能财讯 翠微股份(603123)4月30日披露2024年一季报。2024年第一季度,公司实现营业总收入6.27亿元,同比下降37.26%;归母净利润亏损1.10亿元,上年同期盈利1918.78万元;扣非净利润亏损1.12亿元,上年同期盈利600.71万元;经营活动产生的现金流量净额为-5652.26万元,上年同期为1040.19万元;报告期内,翠微股份基本每股收益为-0.138元,加权平均净资产收益率为-3.96%。


2024年第一季度,公司毛利率为21.72%,同比下降4.83个百分点;净利率为-17.83%,较上年同期下降19.77个百分点。

数据显示,2024年第一季度公司加权平均净资产收益率为-3.96%,较上年同期下降4.52个百分点;公司2024年第一季度投入资本回报率为-1.68%,较上年同期下降2.28个百分点。

2024年第一季度,公司经营活动现金流净额为-5652.26万元,同比减少6692.46万元,主要系综合毛利下降现金流入减少以及支付当代商城中关村店商户补偿款现金流出增加所致;筹资活动现金流净额-5806.61万元,同比增加647.65万元;投资活动现金流净额-18.10万元,上年同期为1958.47万元。

2024年第一季度,公司营业收入现金比为210.01%。

资产重大变化方面,截至2024年一季度末,公司货币资金较上年末减少9.03%,占公司总资产比重下降1.68个百分点;其他非流动资产较上年末增加5.43%,占公司总资产比重上升0.90个百分点;其他非流动金融资产较上年末增加0.24%,占公司总资产比重上升0.56个百分点;使用权资产较上年末减少0.79%,占公司总资产比重上升0.31个百分点。

负债重大变化方面,截至2024年一季度末,公司其他应付款(含利息和股利)较上年末减少10.21%,占公司总资产比重下降1.20个百分点;应付账款较上年末增加28.60%,占公司总资产比重上升0.92个百分点;预计负债较上年末减少99.19%,占公司总资产比重下降0.45个百分点;应付职工薪酬较上年末减少42.54%,占公司总资产比重下降0.41个百分点。

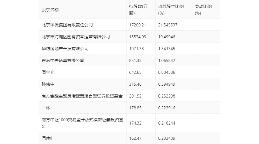
一季报显示,2024年一季度末的公司十大流通股东中,新进股东为周宇光、南方金融主题灵活配置混合型证券投资基金、南方中证1000交易型开放式指数证券投资基金,取代了上年末的UBS AG、中信证券股份有限公司、汤仙岳。在具体持股比例上,华纺房地产开发有限公司、尹林、闫俊红持股有所上升,香港中央结算有限公司、孙伟中持股有所下降。

筹码集中度方面,截至2024年一季度末,公司股东总户数为5.96万户,较上年末下降了6015户,降幅9.17%;户均持股市值由上年末的12.97万元下降至10.93万元,降幅为15.73%。
