广州酒家:2024年第一季度净利润7078.16万元 同比增长2.22%

中证智能财讯 广州酒家(603043)4月26日披露2024年一季报。2024年第一季度,公司实现营业总收入10.12亿元,同比增长10.04%;归母净利润7078.16万元,同比增长2.22%;扣非净利润6661.12万元,同比增长1.15%;经营活动产生的现金流量净额为1.22亿元,同比下降19.11%;报告期内,广州酒家基本每股收益为0.1244元,加权平均净资产收益率为1.92%。

2024年第一季度,公司毛利率为29.81%,同比下降2.58个百分点;净利率为7.96%,较上年同期下降0.61个百分点。

数据显示,2024年第一季度公司加权平均净资产收益率为1.92%,较上年同期下降0.14个百分点;公司2024年第一季度投入资本回报率为1.47%,较上年同期下降0.33个百分点。

2024年第一季度,公司经营活动现金流净额为1.22亿元,同比下降19.11%;筹资活动现金流净额-2.21亿元,同比减少2.02亿元;投资活动现金流净额1.49亿元,上年同期为9734.58万元。

2024年第一季度,公司营业收入现金比为123.41%,净现比为173.05%。

资产重大变化方面,截至2024年一季度末,公司其他非流动资产较上年末减少15.29%,占公司总资产比重下降3.23个百分点;货币资金较上年末增加5.62%,占公司总资产比重上升1.23个百分点;长期待摊费用较上年末增加20.70%,占公司总资产比重上升0.80个百分点;固定资产较上年末减少0.31%,占公司总资产比重上升0.70个百分点。

负债重大变化方面,截至2024年一季度末,公司短期借款较上年末减少26.38%,占公司总资产比重下降1.79个百分点;应付账款较上年末减少28.33%,占公司总资产比重下降1.14个百分点;应付票据较上年末减少95.23%,占公司总资产比重下降0.99个百分点;合同负债较上年末增加16.86%,占公司总资产比重上升0.64个百分点。

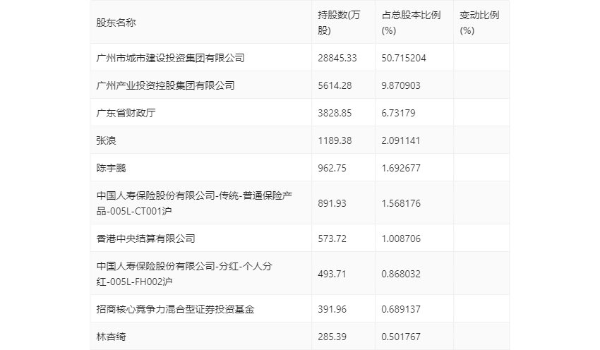
一季报显示,2024年一季度末公司十大流通股东中,持股最多的为广州市城市建设投资集团有限公司,占比50.72%。十大流通股东名单相比2023年年报维持不变。在具体持股比例上,张浪、中国人寿保险股份有限公司-传统-普通保险产品-005L-CT001沪持股有所上升,陈宇鹏、香港中央结算有限公司持股有所下降。

筹码集中度方面,截至2024年一季度末,公司股东总户数为2.33万户,较上年末增长了1347户,增幅6.12%;户均持股市值由上年末的50.49万元下降至42.53万元,降幅为15.77%。
