新坐标:2024年第一季度净利润4856.15万元 同比增长1.22%

中证智能财讯 新坐标(603040)4月27日披露2024年一季报。2024年第一季度,公司实现营业总收入1.42亿元,同比增长7.60%;归母净利润4856.15万元,同比增长1.22%;扣非净利润4314.60万元,同比下降1.06%;经营活动产生的现金流量净额为5802.20万元,同比下降23.62%;报告期内,新坐标基本每股收益为0.36元,加权平均净资产收益率为3.81%。


2024年第一季度,公司毛利率为51.51%,同比下降7.99个百分点;净利率为34.86%,较上年同期下降1.21个百分点。

数据显示,2024年第一季度公司加权平均净资产收益率为3.81%,较上年同期下降0.43个百分点;公司2024年第一季度投入资本回报率为3.47%,较上年同期下降0.53个百分点。

截至2024年一季度末,公司经营活动现金流净额为5802.2万元,同比下降23.62%;筹资活动现金流净额-1746.03万元,同比减少1746.03万元;投资活动现金流净额-2978.35万元,上年同期为-5695.24万元。

2024年第一季度,公司营业收入现金比为131.82%,净现比为119.48%。

资产重大变化方面,截至2024年一季度末,公司一年内到期的非流动资产较上年末增加122.97%,占公司总资产比重上升3.55个百分点;其他非流动资产较上年末减少26.30%,占公司总资产比重下降2.84个百分点;交易性金融资产较上年末增加7.77%,占公司总资产比重上升1.20个百分点;其他流动资产较上年末减少69.24%,占公司总资产比重下降1.08个百分点。

负债重大变化方面,截至2024年一季度末,公司应付账款较上年末减少27.67%,占公司总资产比重下降0.87个百分点;应付票据较上年末增加30.25%,占公司总资产比重上升0.79个百分点;应交税费较上年末减少74.33%,占公司总资产比重下降0.74个百分点;应付职工薪酬较上年末减少47.92%,占公司总资产比重下降0.62个百分点。

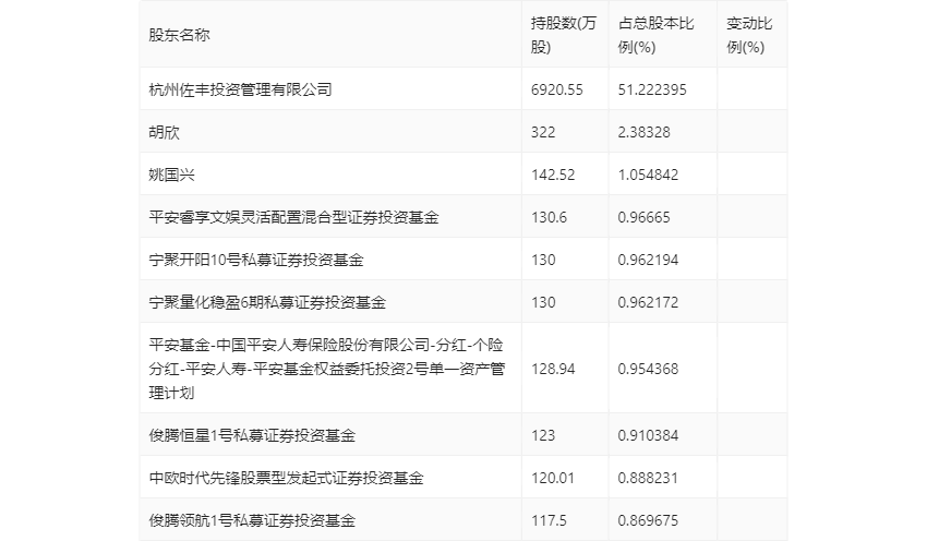
一季报显示,2024年一季度末公司十大流通股东中,新进股东为宁聚开阳10号私募证券投资基金、宁聚量化稳盈6期私募证券投资基金、中欧时代先锋股票型发起式证券投资基金,取代了上年末的华泰证券股份有限公司、鹏华新兴成长混合型证券投资基金、信澳信用债债券型证券投资基金。在具体持股比例上,平安睿享文娱灵活配置混合型证券投资基金、平安基金-中国平安人寿保险股份有限公司-分红-个险分红-平安人寿-平安基金权益委托投资2号单一资产管理计划、俊腾恒星1号私募证券投资基金、俊腾领航1号私募证券投资基金持股有所上升。

筹码集中度方面,截至2024年一季度末,公司股东总户数为8645户,较上年末下降了759户,降幅8.07%;户均持股市值由上年末的37.57万元下降至32.93万元,降幅为12.35%。
