中国银河:2024年第一季度净利润16.31亿元 同比下降27.46%

中证智能财讯 中国银河(601881)4月30日披露2024年一季报。2024年第一季度,公司实现营业总收入72.14亿元,同比下降17.06%;归母净利润16.31亿元,同比下降27.46%;扣非净利润16.33亿元,同比下降27.63%;经营活动产生的现金流量净额为823.44亿元,同比增长1423.64%;报告期内,中国银河基本每股收益为0.12元,加权平均净资产收益率为1.30%。


盈利能力方面, 2024年一季度公司加权平均净资产收益率为1.3%,同比下降1.06个百分点。

2024年第一季度,公司经营活动现金流净额为823.44亿元,同比增长1423.64%,主要系本报告期代理买卖证券产生的现金流量净额和回购业务产生的现金流量净额增加所致;筹资活动现金流净额-49.21亿元,同比减少1.75亿元;投资活动现金流净额-352.87亿元,上年同期为-143.13亿元,主要系本报告期其他债权投资现金流出净额增加所致。

资产重大变化方面,截至2024年一季度末,公司货币资金较上年末增加38.44%,占公司总资产比重上升3.33个百分点;融出资金较上年末减少7.26%,占公司总资产比重下降2.75个百分点;其他债权投资合计较上年末增加27.39%,占公司总资产比重上升1.45个百分点;存出保证金较上年末减少10.59%,占公司总资产比重下降0.77个百分点。

负债重大变化方面,截至2024年一季度末,公司代理买卖证券款较上年末增加41.78%,占公司总资产比重上升4.05个百分点;卖出回购金融资产款较上年末增加27.62%,占公司总资产比重上升2.45个百分点;交易性金融负债合计较上年末增加44.05%,占公司总资产比重上升1.45个百分点;应付短期融资款较上年末减少29.60%,占公司总资产比重下降1.56个百分点。

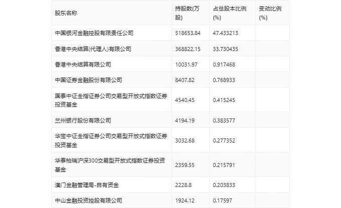
一季报显示,2024年一季度末公司十大流通股东中,新进股东为中山金融投资控股有限公司,取代了上年末的广发多因子灵活配置混合型证券投资基金。在具体持股比例上,香港中央结算有限公司、华宝中证全指证券公司交易型开放式指数证券投资基金、华泰柏瑞沪深300交易型开放式指数证券投资基金、澳门金融管理局-自有资金持股有所上升,香港中央结算(代理人)有限公司、国泰中证全指证券公司交易型开放式指数证券投资基金持股有所下降。

筹码集中度方面,截至2024年一季度末,公司股东总户数为12.91万户(A股),较上年末下降了149户,降幅0.12%;户均持股市值由上年末的101.40万元下降至100.92万元,降幅为0.47%。
