长城军工:2024年上半年亏损3962.61万元

中证智能财讯 长城军工(601606)8月16日披露2024年半年度报告。2024年上半年,公司实现营业收入5.39亿元,同比下降14.8%;归母净利润亏损3962.61万元,上年同期盈利213.89万元;扣非净利润亏损4768.73万元,上年同期亏损704.01万元;经营活动产生的现金流量净额为-1.93亿元,上年同期为-2.81亿元;报告期内,长城军工基本每股收益为-0.055元,加权平均净资产收益率为-1.53%。
公告称,公司营业收入变化主要由于因主要产品结构变化及配套件供应不及时,特品营业收入同比下降影响。


以8月15日收盘价计算,长城军工目前市盈率(TTM)约为-470.56倍,市净率(LF)约为2.75倍,市销率(TTM)约为4.65倍。

公司近年市盈率(TTM)、市净率(LF)、市销率(TTM)历史分位图如下所示:



根据半年报,公司第二季度实现营业总收入3.99亿元,同比下降4.80%,环比增长183.25%;归母净利润-465.47万元,同比下降114.95%,环比增长86.69%;扣非净利润-865.9万元,同比下降133.14%,环比增长77.81%。

半年报称,公司为控股型公司,主营业务均通过子公司开展,分为军品业务与民品业务两部分,以军品业务为主。民品业务主要包括预应力锚固系列、高铁和城市轨道减振器等零部件(铸件)、汽车空调压缩机等汽车零部件系列、塑料制品系列等产品的研发、生产和销售。
2024年上半年,公司毛利率为18.37%,同比下降5.36个百分点;净利率为-7.56%,较上年同期下降7.82个百分点。从单季度指标来看,2024年第二季度公司毛利率为17.19%,同比下降8.23个百分点,环比下降4.52个百分点;净利率为-1.38%,较上年同期下降8.79个百分点,较上一季度上升23.69个百分点。

数据显示,2024年上半年公司加权平均净资产收益率为-1.53%,较上年同期下降1.61个百分点;公司2024年上半年投入资本回报率为-1.21%,较上年同期下降1.12个百分点。

2024年上半年,公司经营活动现金流净额为-1.93亿元,同比增加8802.47万元;筹资活动现金流净额4184.22万元,同比减少8402.30万元;投资活动现金流净额-4340.56万元,上年同期为-2919.55万元。
进一步统计发现,2024年上半年公司自由现金流为-2.33亿元,上年同期为-4.53亿元。

2024年上半年,公司营业收入现金比为88.21%。

营运能力方面,2024年上半年,公司公司总资产周转率为0.12次,上年同期为0.15次(2023年上半年行业平均值为0.14次,公司位居同行业6/12);固定资产周转率为0.52次,上年同期为0.59次(2023年上半年行业平均值为1.41次,公司位居同行业10/12);公司应收账款周转率、存货周转率分别为0.35次、0.61次。

2024年上半年,公司期间费用为1.52亿元,较上年同期增加1407.09万元;期间费用率为28.19%,较上年同期上升6.39个百分点。其中,销售费用同比下降5.37%,管理费用同比增长0.49%,研发费用同比增长24.27%,财务费用同比增长80.97%。
资料显示,销售费用的变动主要因为受营收规模下降影响,市场推广、差旅费等同比下降30%;管理费用的变动主要因为报告期内,公司管理费用同比基本持平;财务费用的变动主要因为贷款增加,相应利息支出增长,利息支出增长高于利息收入的增幅;研发费用的变动主要因为公司为增强创新和可持续发展能力,满足客户需求,公司持续加大研发投入。

资产重大变化方面,截至2024年上半年末,公司货币资金较上年末减少58.10%,占公司总资产比重下降4.38个百分点;应收账款较上年末增加11.18%,占公司总资产比重上升3.70个百分点;存货较上年末增加16.51%,占公司总资产比重上升2.45个百分点;应收票据较上年末减少61.90%,占公司总资产比重下降1.89个百分点。

负债重大变化方面,截至2024年上半年末,公司其他流动负债较上年末减少75.68%,占公司总资产比重下降0.83个百分点;短期借款较上年末增加10.31%,占公司总资产比重上升0.84个百分点,主要系公司本期银行短期借款较年初增加;应付账款较上年末增加4.67%,占公司总资产比重上升0.75个百分点;应付票据较上年末增加20.07%,占公司总资产比重上升0.63个百分点。

从存货变动来看,截至2024年上半年末,公司存货账面价值为7.73亿元,占净资产的30.14%,较上年末增加1.1亿元。其中,存货跌价准备为4576.72万元,计提比例为5.59%。

在偿债能力方面,公司2024年上半年末资产负债率为42.57%,相比上年末上升1.02个百分点;有息资产负债率为10.69%,相比上年末上升0.94个百分点。

2024年上半年,公司流动比率为1.90,速动比率为1.37。

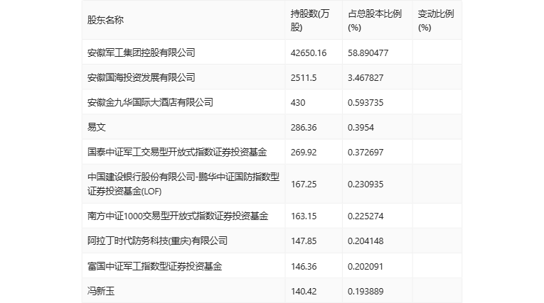
半年报显示,2024年上半年末公司十大流通股东中,新进股东为中国建设银行股份有限公司-鹏华中证国防指数型证券投资基金(LOF)、冯新玉,取代了一季度末的富国中证军工龙头交易型开放式指数证券投资基金、李红杰。在具体持股比例上,国泰中证军工交易型开放式指数证券投资基金、南方中证1000交易型开放式指数证券投资基金持股有所上升,富国中证军工指数型证券投资基金持股有所下降。

筹码集中度方面,截至2024年上半年末,公司股东总户数为5.72万户,较一季度末增长了3384户,增幅6.28%;户均持股市值由一季度末的14.61万元下降至12.10万元,降幅为17.18%。

指标注解:
市盈率
=总市值/净利润。当公司亏损时市盈率为负,此时用市盈率估值没有实际意义,往往用市净率或市销率做参考。
市净率
=总市值/净资产。市净率估值法多用于盈利波动较大而净资产相对稳定的公司。
市销率
=总市值/营业收入。市销率估值法通常用于亏损或微利的成长型公司。
文中市盈率和市销率采用TTM方式,即以截至最近一期财报(含预报)12个月的数据计算。市净率采用LF方式,即以最近一期财报数据计算。
市盈率为负时,不显示当期分位数,会导致折线图中断。