江苏有线:2023年净利同比增长4.24% 拟10派0.21元

中证智能财讯 江苏有线(600959)4月10日披露2023年年报。2023年,公司实现营业总收入75.97亿元,同比增长1.22%;归母净利润3.40亿元,同比增长4.24%;扣非净利润亏损3.00亿元,上年同期亏损1.85亿元;经营活动产生的现金流量净额为24.08亿元,同比增长20.17%;报告期内,江苏有线基本每股收益为0.07元,加权平均净资产收益率为1.53%。公司2023年年度利润分配预案为:拟向全体股东每10股派0.21元(含税)。



以4月9日收盘价计算,江苏有线目前市盈率(TTM)约为45.29倍,市净率(LF)约为0.69倍,市销率(TTM)约为2.03倍。

公司近年市盈率(TTM)、市净率(LF)、市销率(TTM)历史分位图如下所示:



数据统计显示,江苏有线近三年营业总收入复合增长率为1.13%,近三年净利润复合年增长率为26.35%。

年报显示,公司主要从事广电网络的建设运营,广播电视节目传输,数据宽带业务以及数字电视增值业务的开发与经营。
分产品来看,2023年公司主营业务中,有线电视服务收入75.97亿元,同比增长1.22%,占营业收入的100.00%。

截至2023年末,公司员工总数为17090人,人均创收44.45万元,人均创利1.99万元,人均薪酬18.39万元,较上年同期分别增长3.61%、6.71%、3.10%。
2023年,公司毛利率为24.07%,同比下降3.25个百分点;净利率为5.62%,较上年同期上升0.21个百分点。从单季度指标来看,2023年第四季度公司毛利率为21.02%,同比下降10.23个百分点,环比下降3.89个百分点;净利率为4.97%,较上年同期上升0.69个百分点,较上一季度下降1.18个百分点。

报告期内,公司前五大客户合计销售金额1.79亿元,占总销售金额比例为2.36%,公司前五名供应商合计采购金额5.64亿元,占年度采购总额比例为9.47%。

数据显示,2023年公司加权平均净资产收益率为1.53%,较上年同期增长0.04个百分点;公司2023年投入资本回报率为1.61%,较上年同期增长0.15个百分点。

2023年,公司经营活动现金流净额为24.08亿元,同比增长20.17%;筹资活动现金流净额-5764.16万元,同比减少8.88亿元;投资活动现金流净额-16.52亿元,上年同期为-19.97亿元。
进一步统计发现,2023年公司自由现金流为-3.02亿元,上年同期为16.18亿元。

2023年,公司营业收入现金比为112.53%,净现比为708.02%。

营运能力方面,2023年,公司公司总资产周转率为0.20次,上年同期为0.21次(2022年行业平均值为0.25次,公司位居同行业7/14);固定资产周转率为0.41次,上年同期为0.40次(2022年行业平均值为1.57次,公司位居同行业11/14);公司应收账款周转率、存货周转率分别为6.28次、3.67次。

2023年,公司期间费用为20.44亿元,同比减少1.19亿元;期间费用率为26.91%,同比下降1.91个百分点。其中,销售费用同比下降13.72%,管理费用同比下降5.74%,研发费用同比增长31.71%,财务费用-1569.19万元,去年同期-4686.18万元。

资产重大变化方面,截至2023年年末,公司货币资金较上年末增加14.60%,占公司总资产比重上升1.67个百分点;债权投资合计较上年末减少66.21%,占公司总资产比重下降1.49个百分点;一年内到期的非流动资产较上年末增加132.25%,占公司总资产比重上升1.19个百分点;交易性金融资产较上年末减少38.43%,占公司总资产比重下降0.95个百分点。

负债重大变化方面,截至2023年年末,公司一年内到期的非流动负债较上年末增加1942.87%,占公司总资产比重上升2.74个百分点;应付债券较上年末减少54.02%,占公司总资产比重下降1.95个百分点;应付账款较上年末减少6.57%,占公司总资产比重下降0.52个百分点;预收款项较上年末减少17.06%,占公司总资产比重下降0.29个百分点。

从存货变动来看,截至2023年年末,公司存货账面价值为14.86亿元,占净资产的6.67%,较上年末减少1.69亿元。其中,存货跌价准备为3610.97万元,计提比例为2.37%。

2023年全年,公司研发投入金额为1.30亿元,同比增长31.71%;研发投入占营业收入比例为1.72%,相比上年同期上升0.40个百分点。此外,公司全年研发投入资本化率为0。


在偿债能力方面,公司2023年年末资产负债率为37.90%,相比上年末下降0.33个百分点;有息资产负债率为5.03%,相比上年末上升0.94个百分点。

2023年,公司流动比率为0.86,速动比率为0.74。

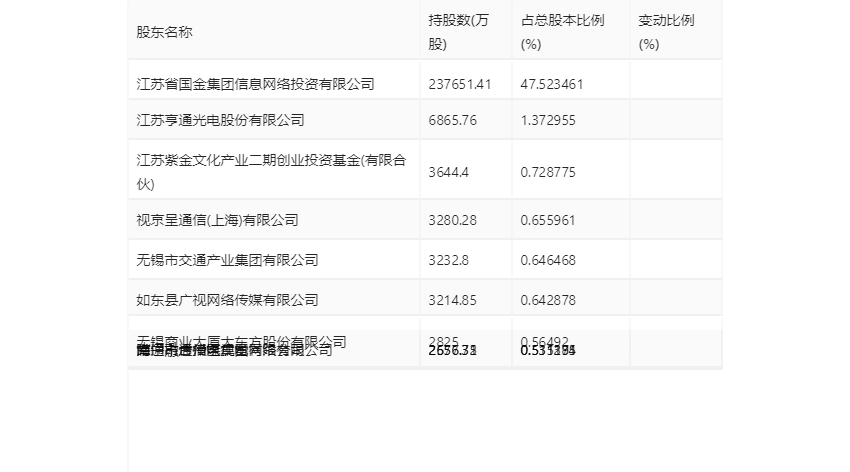
年报显示,2023年年末公司十大流通股东中,新进股东为江苏亨通光电股份有限公司,取代了三季度末的黑龙江电信国脉工程股份有限公司。

筹码集中度方面,截至2023年年末,公司股东总户数为10.9万户,较三季度末下降了3167户,降幅2.82%;户均持股市值由三季度末的14.18万元上升至14.41万元,增幅为1.62%。

指标注解:
市盈率
=总市值/净利润。当公司亏损时市盈率为负,此时用市盈率估值没有实际意义,往往用市净率或市销率做参考。
市净率
=总市值/净资产。市净率估值法多用于盈利波动较大而净资产相对稳定的公司。
市销率
=总市值/营业收入。市销率估值法通常用于亏损或微利的成长型公司。
文中市盈率和市销率采用TTM方式,即以截至最近一期财报(含预报)12个月的数据计算。市净率采用LF方式,即以最近一期财报数据计算。
市盈率为负时,不显示当期分位数,会导致折线图中断。