财达证券:2024年第一季度净利润1.11亿元 同比下降45.13%

中证智能财讯 财达证券(600906)4月26日披露2024年一季报。2024年第一季度,公司实现营业总收入4.31亿元,同比下降31.25%;归母净利润1.11亿元,同比下降45.13%;扣非净利润1.10亿元,同比下降43.56%;经营活动产生的现金流量净额为11.76亿元,同比增长11.18%;报告期内,财达证券基本每股收益为0.03元,加权平均净资产收益率为0.95%。

2024年第一季度,公司经营活动现金流净额为11.76亿元,同比增长11.18%;筹资活动现金流净额9.88亿元,同比增加10.04亿元;投资活动现金流净额-461.19万元,上年同期为-1688.84万元。
2024年第一季度,公司营业收入现金比为687.19%,净现比为1058.73%。

资产重大变化方面,截至2024年一季度末,公司货币资金较上年末增加19.14%,占公司总资产比重上升3.27个百分点;应收款项较上年末减少63.25%,占公司总资产比重下降1.66个百分点;融出资金较上年末减少7.08%,占公司总资产比重下降1.49个百分点;买入返售金融资产较上年末增加26.63%,占公司总资产比重上升0.22个百分点。

负债重大变化方面,截至2024年一季度末,公司应付债券较上年末增加16.94%,占公司总资产比重上升1.57个百分点;代理买卖证券款较上年末增加4.70%,占公司总资产比重上升0.02个百分点;卖出回购金融资产款较上年末增加4.78%,占公司总资产比重上升0.03个百分点;应付职工薪酬较上年末减少10.68%,占公司总资产比重下降0.23个百分点。

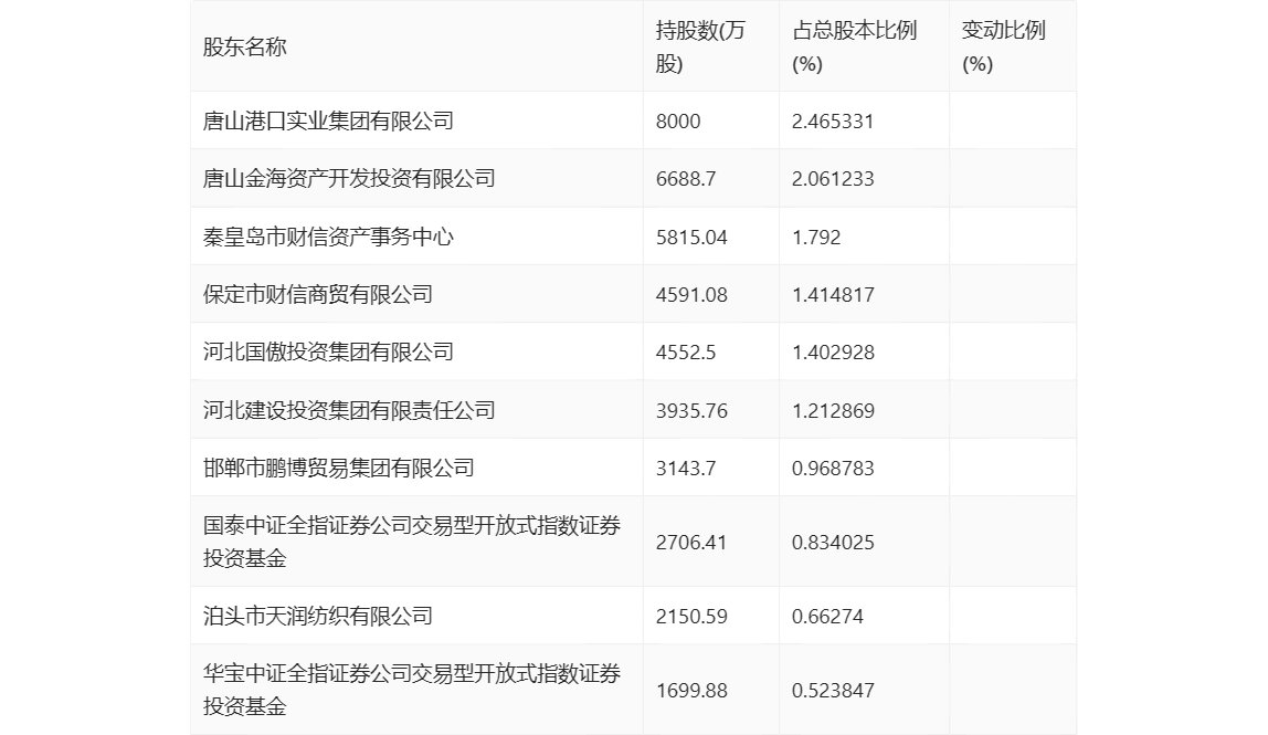
一季报显示,2024年一季度末公司十大流通股东中,持股最多的为唐山港口实业集团有限公司,占比2.47%。十大流通股东名单相比2023年年报维持不变。在具体持股比例上,河北国傲投资集团有限公司、河北建设投资集团有限责任公司持股有所上升,唐山金海资产开发投资有限公司、邯郸市鹏博贸易集团有限公司、国泰中证全指证券公司交易型开放式指数证券投资基金、华宝中证全指证券公司交易型开放式指数证券投资基金持股有所下降。

筹码集中度方面,截至2024年一季度末,公司股东总户数为9.24万户,较上年末下降了5236户,降幅5.36%;户均持股市值由上年末的24.92万元下降至24.82万元,降幅为0.40%。
