上海石化:2024年上半年盈利2791.20万元 同比扭亏

中证智能财讯 上海石化(600688)8月22日披露2024年半年报。2024年上半年,公司实现营业总收入435.33亿元,同比下降3.12%;归母净利润2791.20万元,同比扭亏;扣非净利润6130.50万元,同比扭亏;经营活动产生的现金流量净额为3.42亿元,上年同期为-2.27亿元;报告期内,上海石化基本每股收益为0.003元,加权平均净资产收益率为0.11%。

以8月21日收盘价计算,上海石化目前市盈率(TTM)约为-74.24倍,市净率(LF)约为1.17倍,市销率(TTM)约为0.32倍。

公司近年市盈率(TTM)、市净率(LF)、市销率(TTM)历史分位图如下所示:



根据半年报,公司第二季度实现营业总收入222.51亿元,同比下降3.09%,环比增长4.55%;归母净利润-5614.9万元,同比增长93.20%,环比下降166.80%;扣非净利润-3680.3万元,同比增长95.47%,环比下降137.51%。

资料显示,公司主要是通过炼油产品、化工产品和石油化工产品贸易。
2024年上半年,公司毛利率为16.29%,同比上升2.09个百分点;净利率为0.07%,较上年同期上升2.26个百分点。从单季度指标来看,2024年第二季度公司毛利率为15.96%,同比上升2.83个百分点,环比下降0.69个百分点;净利率为-0.24%,较上年同期上升3.35个百分点,较上一季度下降0.64个百分点。

数据显示,2024年上半年公司加权平均净资产收益率为0.11%,较上年同期增长3.93个百分点;公司2024年上半年投入资本回报率为-0.15%,较上年同期增长4.34个百分点。

2024年上半年,公司经营活动现金流净额为3.42亿元,同比增加5.69亿元;筹资活动现金流净额13.43亿元,同比减少20.85亿元;投资活动现金流净额-5.85亿元,上年同期为5.13亿元。
进一步统计发现,2024年上半年公司自由现金流为-8.76亿元,上年同期为-14.12亿元。

2024年上半年,公司营业收入现金比为102.64%,净现比为1225.17%。

营运能力方面,2024年上半年,公司公司总资产周转率为1.05次,上年同期为1.08次(2023年上半年行业平均值为0.53次,公司位居同行业1/10);公司应收账款周转率、存货周转率分别为15.59次、4.79次。

2024年上半年,公司期间费用为10.34亿元,较上年同期减少1508.70万元;但期间费用率为2.38%,较上年同期上升0.04个百分点。其中,销售费用同比下降14.74%,管理费用同比下降7.42%,研发费用同比增长42.38%,财务费用由去年同期的-1.25亿元变为-7620.00万元。

资产重大变化方面,截至2024年上半年末,公司货币资金较上年末增加66.57%,占公司总资产比重上升7.61个百分点;应收账款较上年末增加185.41%,占公司总资产比重上升5.98个百分点;固定资产较上年末减少3.36%,占公司总资产比重下降3.84个百分点;存货较上年末减少3.89%,占公司总资产比重下降2.20个百分点。

负债重大变化方面,截至2024年上半年末,公司应付票据较上年末增加263.67%,占公司总资产比重上升9.13个百分点;应付账款较上年末减少28.59%,占公司总资产比重下降5.41个百分点;短期借款较上年末增加50.00%,占公司总资产比重上升2.92个百分点;其他应付款(含利息和股利)较上年末减少31.19%,占公司总资产比重下降1.06个百分点。

在偿债能力方面,公司2024年上半年末资产负债率为42.05%,相比上年末上升4.94个百分点;有息资产负债率为12.12%,相比上年末上升2.77个百分点。

2024年上半年,公司流动比率为1.23,速动比率为0.82。

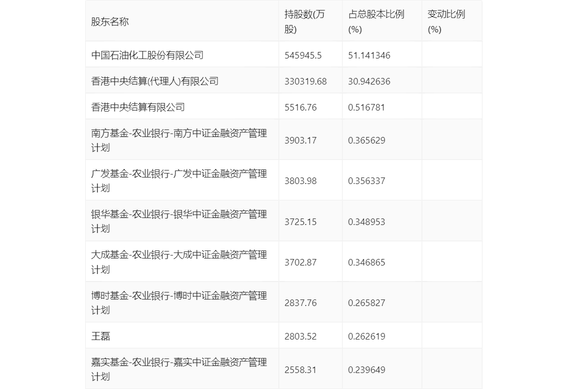
半年报显示,2024年上半年末公司十大流通股东中,持股最多的为中国石油化工股份有限公司,占比51.14%。十大流通股东名单相比2024年一季报维持不变。在具体持股比例上,中国石油化工股份有限公司、南方基金-农业银行-南方中证金融资产管理计划、广发基金-农业银行-广发中证金融资产管理计划、银华基金-农业银行-银华中证金融资产管理计划、大成基金-农业银行-大成中证金融资产管理计划、博时基金-农业银行-博时中证金融资产管理计划、王磊、嘉实基金-农业银行-嘉实中证金融资产管理计划持股有所上升,香港中央结算(代理人)有限公司、香港中央结算有限公司持股有所下降。

指标注解:
市盈率
=总市值/净利润。当公司亏损时市盈率为负,此时用市盈率估值没有实际意义,往往用市净率或市销率做参考。
市净率
=总市值/净资产。市净率估值法多用于盈利波动较大而净资产相对稳定的公司。
市销率
=总市值/营业收入。市销率估值法通常用于亏损或微利的成长型公司。
文中市盈率和市销率采用TTM方式,即以截至最近一期财报(含预报)12个月的数据计算。市净率采用LF方式,即以最近一期财报数据计算。
市盈率为负时,不显示当期分位数,会导致折线图中断。