中孚实业:2023年净利润11.59亿元 同比增长10.40%

中证智能财讯 中孚实业(600595)4月18日披露2023年年报。2023年,公司实现营业总收入187.93亿元,同比增长7.29%;归母净利润11.59亿元,同比增长10.40%;扣非净利润9.66亿元,同比下降1.94%;经营活动产生的现金流量净额为19.89亿元,同比增长21.11%;报告期内,中孚实业基本每股收益为0.29元,加权平均净资产收益率为8.98%。


以4月17日收盘价计算,中孚实业目前市盈率(TTM)约为13.84倍,市净率(LF)约为1.17倍,市销率(TTM)约为0.85倍。

公司近年市盈率(TTM)、市净率(LF)、市销率(TTM)历史分位图如下所示:



数据统计显示,中孚实业近三年营业总收入复合增长率为31.95%,在铝行业已披露2023年数据的16家公司中排名第1。近三年净利润复合年增长率为38.38%,排名6/16。

资料显示,公司主要业务为铝及铝精深加工,配套煤炭开采、火力发电、炭素等产业。公司产品包括易拉罐罐体料、罐盖料、拉环料、新能源电池铝塑膜用铝箔、新能源电池集流体用铝箔、新能源电池极耳铝箔、高档双零铝箔毛料、3C电子产品用高表面阳极氧化料、汽车板用料、油罐车用高性能板材、铝合金车轮、高纯铝锭等,终端产品可广泛应用于易拉罐、利乐包、无菌包等快速消费品包装领域、新能源汽车领域及消费电子领域等。
分产品来看,2023年公司主营业务中,铝加工收入100.68亿元,同比下降18.37%,占营业收入的53.57%;电解铝收入71.66亿元,同比增长116.26%,占营业收入的38.13%;电收入6.45亿元,同比增长44.04%,占营业收入的3.43%。

截至2023年末,公司员工总数为8777人,人均创收214.11万元,人均创利13.21万元,人均薪酬11.33万元,较上年同期分别下降27.10%、24.98%、18.45%。

2023年,公司毛利率为15.71%,同比下降0.35个百分点;净利率为8.39%,较上年同期上升0.13个百分点。从单季度指标来看,2023年第四季度公司毛利率为13.86%,同比上升11.77个百分点,环比下降5.06个百分点;净利率为9.78%,较上年同期上升14.86个百分点,较上一季度下降0.68个百分点。

分产品看,铝加工、电解铝、电2023年毛利率分别为11.04%、22.02%、11.17%。

报告期内,公司前五大客户合计销售金额64.77亿元,占总销售金额比例为34.47%,公司前五名供应商合计采购金额65.93亿元,占年度采购总额比例为45.42%。

数据显示,2023年公司加权平均净资产收益率为8.98%,较上年同期下降0.47个百分点;公司2023年投入资本回报率为10.55%,较上年同期增长0.38个百分点。

2023年,公司经营活动现金流净额为19.89亿元,同比增长21.11%;筹资活动现金流净额-13.74亿元,同比减少6.58亿元;投资活动现金流净额-8.11亿元,上年同期为-10.15亿元。
进一步统计发现,2023年公司自由现金流为1.34亿元,相比上年同期下降94.11%。

2023年,公司营业收入现金比为82.02%,净现比为171.60%。

营运能力方面,2023年,公司公司总资产周转率为0.79次,上年同期为0.76次(2022年行业平均值为0.93次,公司位居同行业20/30);固定资产周转率为1.28次,上年同期为1.26次(2022年行业平均值为3.50次,公司位居同行业29/30);公司应收账款周转率、存货周转率分别为21.77次、6.95次。

2023年,公司期间费用为11.09亿元,较上年同期增加158.29万元;但期间费用率为5.90%,较上年同期下降0.42个百分点。其中,销售费用同比增长63.45%,管理费用同比增长14.05%,研发费用同比下降39.47%,财务费用同比增长226.79%。

资产重大变化方面,截至2023年年末,公司货币资金较上年末减少57.66%,占公司总资产比重下降4.84个百分点;固定资产较上年末增加2.01%,占公司总资产比重上升4.07个百分点;应收账款较上年末增加52.69%,占公司总资产比重上升1.69个百分点;在建工程较上年末减少71.96%,占公司总资产比重下降1.52个百分点。

负债重大变化方面,截至2023年年末,公司应付票据较上年末减少74.28%,占公司总资产比重下降4.79个百分点;其他应付款(含利息和股利)较上年末减少30.04%,占公司总资产比重下降1.00个百分点;短期借款较上年末增加398.86%,占公司总资产比重上升0.87个百分点;长期借款较上年末减少10.84%,占公司总资产比重下降0.35个百分点。

从存货变动来看,截至2023年年末,公司存货账面价值为23.67亿元,占净资产的17.3%,较上年末增加1.74亿元。其中,存货跌价准备为1898.93万元,计提比例为0.8%。

2023年全年,公司研发投入金额为3.78亿元,同比下降39.47%;研发投入占营业收入比例为2.01%,相比上年同期下降1.55个百分点。此外,公司全年研发投入资本化率为0。


在偿债能力方面,公司2023年年末资产负债率为34.45%,相比上年末下降5.97个百分点;有息资产负债率为10.07%,相比上年末上升0.20个百分点。

2023年,公司流动比率为1.14,速动比率为0.62。

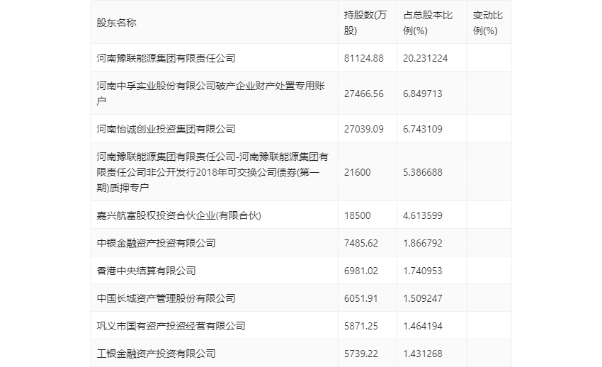
年报显示,2023年年末公司十大流通股东中,新进股东为香港中央结算有限公司,取代了三季度末的中信证券股份有限公司。

值得注意的是,根据年报数据,中孚实业25.03%股份处于质押状态。其中,第一大股东河南豫联能源集团有限责任公司质押7.73亿股公司股份,占其全部持股的95.24%。
筹码集中度方面,截至2023年年末,公司股东总户数为7.73万户,较三季度末下降了1.79万户,降幅18.81%;户均持股市值由三季度末的11.88万元上升至18.05万元,增幅为51.94%。

指标注解:
市盈率
=总市值/净利润。当公司亏损时市盈率为负,此时用市盈率估值没有实际意义,往往用市净率或市销率做参考。
市净率
=总市值/净资产。市净率估值法多用于盈利波动较大而净资产相对稳定的公司。
市销率
=总市值/营业收入。市销率估值法通常用于亏损或微利的成长型公司。
文中市盈率和市销率采用TTM方式,即以截至最近一期财报(含预报)12个月的数据计算。市净率采用LF方式,即以最近一期财报数据计算。
市盈率为负时,不显示当期分位数,会导致折线图中断。