长电科技:2024年第一季度净利润1.35亿元 同比增长23.01%

中证智能财讯 长电科技(600584)4月25日披露2024年一季报。2024年第一季度,公司实现营业总收入68.42亿元,同比增长16.75%;归母净利润1.35亿元,同比增长23.01%;扣非净利润1.08亿元,同比增长91.33%;经营活动产生的现金流量净额为13.73亿元,同比增长11.26%;报告期内,长电科技基本每股收益为0.08元,加权平均净资产收益率为0.52%。



2024年第一季度,公司毛利率为12.20%,同比上升0.36个百分点;净利率为1.96%,较上年同期上升0.08个百分点。

数据显示,2024年第一季度公司加权平均净资产收益率为0.52%,较上年同期增长0.07个百分点;公司2024年第一季度投入资本回报率为0.43%,较上年同期下降0.05个百分点。

2024年第一季度,公司经营活动现金流净额为13.73亿元,同比增长11.26%;筹资活动现金流净额16.45亿元,同比增加23.69亿元;投资活动现金流净额-3.67亿元,上年同期为3.51亿元。

2024年第一季度,公司营业收入现金比为117.28%,净现比为1015.08%。

资产重大变化方面,截至2024年一季度末,公司货币资金较上年末增加36.21%,占公司总资产比重上升5.42个百分点;固定资产较上年末减少0.97%,占公司总资产比重下降1.94个百分点;应收账款较上年末减少14.54%,占公司总资产比重下降1.72个百分点;交易性金融资产较上年末减少24.01%,占公司总资产比重下降1.45个百分点。

负债重大变化方面,截至2024年一季度末,公司长期借款较上年末增加37.46%,占公司总资产比重上升4.43个百分点;短期借款较上年末减少72.68%,占公司总资产比重下降2.93个百分点;应付账款较上年末减少5.74%,占公司总资产比重下降1.01个百分点;应付职工薪酬较上年末减少17.21%,占公司总资产比重下降0.36个百分点。

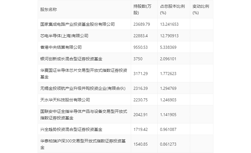
一季报显示,2024年一季度末公司十大流通股东中,新进股东为天水华天科技股份有限公司、华泰柏瑞沪深300交易型开放式指数证券投资基金,取代了上年末的国泰CES半导体芯片行业交易型开放式指数证券投资基金、兴全合润混合型证券投资基金。在具体持股比例上,兴全趋势投资混合型证券投资基金持股有所上升,国家集成电路产业投资基金股份有限公司、芯电半导体(上海)有限公司、香港中央结算有限公司、银河创新成长混合型证券投资基金、华夏国证半导体芯片交易型开放式指数证券投资基金、无锡金投领航产业升级并购投资企业(有限合伙)、国联安中证全指半导体产品与设备交易型开放式指数证券投资基金持股有所下降。

筹码集中度方面,截至2024年一季度末,公司股东总户数为28.63万户,较上年末增长了5.93万户,增幅26.09%;户均持股市值由上年末的23.52万元下降至17.58万元,降幅为25.26%。
