中铁工业:2024年第一季度净利润4.68亿元 同比下降10.87%

中证智能财讯 中铁工业(600528)4月27日披露2024年一季报。2024年第一季度,公司实现营业总收入71.18亿元,同比下降4.26%;归母净利润4.68亿元,同比下降10.87%;扣非净利润4.53亿元,同比下降12.01%;经营活动产生的现金流量净额为-16.00亿元,上年同期为-16.31亿元;报告期内,中铁工业基本每股收益为0.2元,加权平均净资产收益率为1.79%。



2024年第一季度,公司毛利率为17.89%,同比上升0.42个百分点;净利率为6.46%,较上年同期下降0.65个百分点。

数据显示,2024年第一季度公司加权平均净资产收益率为1.79%,较上年同期下降0.38个百分点;公司2024年第一季度投入资本回报率为1.67%,较上年同期下降0.36个百分点。

2024年第一季度,公司经营活动现金流净额为-16.00亿元,同比增加3119.02万元;筹资活动现金流净额7226.33万元,同比增加8155.24万元;投资活动现金流净额-1.52亿元,上年同期为2.5亿元。

2024年第一季度,公司营业收入现金比为86.16%,净现比为-342.00%。

资产重大变化方面,截至2024年一季度末,公司货币资金较上年末减少25.25%,占公司总资产比重下降3.19个百分点;存货较上年末增加9.35%,占公司总资产比重上升2.32个百分点;在建工程较上年末减少45.09%,占公司总资产比重下降1.17个百分点;固定资产较上年末增加10.87%,占公司总资产比重上升0.87个百分点。

负债重大变化方面,截至2024年一季度末,公司应付账款较上年末增加8.25%,占公司总资产比重上升1.71个百分点;其他流动负债较上年末减少34.70%,占公司总资产比重下降1.12个百分点;应付票据较上年末减少15.41%,占公司总资产比重下降1.01个百分点;其他应付款(含利息和股利)较上年末增加19.60%,占公司总资产比重上升0.35个百分点。

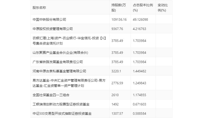
一季报显示,2024年一季度末公司十大流通股东中,新进股东为中证500交易型开放式指数证券投资基金。在具体持股比例上,全国社保基金四一三组合、工银瑞信创新动力股票型证券投资基金持股有所下降。

筹码集中度方面,截至2024年一季度末,公司股东总户数为9.06万户,较上年末增长了116户,增幅0.13%;户均持股市值由上年末的18.27万元上升至18.64万元,增幅为2.03%。
