盘江股份:2024年上半年净利润3727.48万元 同比下降93.98%

中证智能财讯 盘江股份(600395)8月28日披露2024年半年度报告。2024年上半年,公司实现营业收入40.46亿元,同比下降23.63%;归母净利润3727.48万元,同比下降93.98%;扣非净利润亏损4551.09万元,上年同期盈利5.57亿元;经营活动产生的现金流量净额为1.08亿元,同比下降86.40%;报告期内,盘江股份基本每股收益为0.017元,加权平均净资产收益率为0.33%。
报告期内,公司合计非经常性损益为8278.57万元,其中计入当期损益的政府补助,但与公司正常经营业务密切相关、符合国家政策规定、按照确定的标准享有、对公司损益产生持续影响的政府补助除外为1678.93万元,少数股东权益影响额(税后)为-1505.40万元。


以8月27日收盘价计算,盘江股份目前市盈率(TTM)约为75.75倍,市净率(LF)约为1.06倍,市销率(TTM)约为1.4倍。

公司近年市盈率(TTM)、市净率(LF)、市销率(TTM)历史分位图如下所示:



根据半年报,公司第二季度实现营业总收入20.97亿元,同比下降13.88%,环比增长7.57%;归母净利润1594.96万元,同比下降94.07%,环比下降25.21%;扣非净利润-4811.92万元,同比下降120.62%,环比下降1944.84%。

资料显示,公司从事煤炭开采、洗选加工和销售以及电力生产和销售。
2024年上半年,公司毛利率为26.27%,同比下降4.01个百分点;净利率为1.56%,较上年同期下降10.92个百分点。从单季度指标来看,2024年第二季度公司毛利率为25.00%,同比下降6.74个百分点,环比下降2.64个百分点;净利率为0.46%,较上年同期下降11.82个百分点,较上一季度下降2.28个百分点。

数据显示,2024年上半年公司加权平均净资产收益率为0.33%,较上年同期下降4.91个百分点;公司2024年上半年投入资本回报率为0.50%,较上年同期下降2.92个百分点。

2024年上半年,公司经营活动现金流净额为1.08亿元,同比下降86.40%;筹资活动现金流净额34.71亿元,同比增加23.75亿元;投资活动现金流净额-32.88亿元,上年同期为-11.42亿元。
进一步统计发现,2024年上半年公司自由现金流为-21.60亿元,上年同期为-6.48亿元。

2024年上半年,公司营业收入现金比为95.09%,净现比为290.36%。

营运能力方面,2024年上半年,公司公司总资产周转率为0.11次,上年同期为0.17次(2023年上半年行业平均值为0.23次,公司位居同行业11/12);固定资产周转率为0.33次,上年同期为0.75次(2023年上半年行业平均值为0.69次,公司位居同行业4/12);公司应收账款周转率、存货周转率分别为8.50次、8.96次。

2024年上半年,公司期间费用为9.26亿元,较上年同期增加1.88亿元;期间费用率为22.90%,较上年同期上升8.96个百分点。其中,销售费用同比下降16.4%,管理费用同比增长13.55%,研发费用同比增长31.39%,财务费用同比增长132.23%。

资产重大变化方面,截至2024年上半年末,公司固定资产较上年末增加72.50%,占公司总资产比重上升13.99个百分点;在建工程较上年末减少29.80%,占公司总资产比重下降12.55个百分点;无形资产较上年末增加1.46%,占公司总资产比重下降1.29个百分点;应收款项融资较上年末减少20.55%,占公司总资产比重下降0.80个百分点。

负债重大变化方面,截至2024年上半年末,公司长期借款较上年末增加27.27%,占公司总资产比重上升3.18个百分点;短期借款较上年末增加80.91%,占公司总资产比重上升3.23个百分点;其他应付款(含利息和股利)较上年末增加142.82%,占公司总资产比重上升1.54个百分点;一年内到期的非流动负债较上年末增加9.26%,占公司总资产比重下降0.13个百分点。

从存货变动来看,截至2024年上半年末,公司存货账面价值为4.21亿元,占净资产的3.91%,较上年末增加1.77亿元。其中,存货跌价准备为1102.74万元,计提比例为2.55%。

在偿债能力方面,公司2024年上半年末资产负债率为69.65%,相比上年末上升5.14个百分点;有息资产负债率为40.67%,相比上年末上升6.30个百分点。

2024年上半年,公司流动比率为0.54,速动比率为0.51。

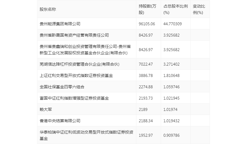
半年报显示,2024年上半年末公司十大流通股东中,新进股东为全国社保基金四零六组合、香港中央结算有限公司、华泰柏瑞中证红利低波动交易型开放式指数证券投资基金,取代了一季度末的中信证券股份有限公司、河南银泰投资有限公司、山东能源集团有限公司。在具体持股比例上,赖大军持股有所上升,上证红利交易型开放式指数证券投资基金、富国中证红利指数增强型证券投资基金持股有所下降。

筹码集中度方面,截至2024年上半年末,公司股东总户数为4.62万户,较一季度末下降了6369户,降幅12.11%;户均持股市值由一季度末的24.89万元上升至27.90万元,增幅为12.09%。

指标注解:
市盈率
=总市值/净利润。当公司亏损时市盈率为负,此时用市盈率估值没有实际意义,往往用市净率或市销率做参考。
市净率
=总市值/净资产。市净率估值法多用于盈利波动较大而净资产相对稳定的公司。
市销率
=总市值/营业收入。市销率估值法通常用于亏损或微利的成长型公司。
文中市盈率和市销率采用TTM方式,即以截至最近一期财报(含预报)12个月的数据计算。市净率采用LF方式,即以最近一期财报数据计算。
市盈率为负时,不显示当期分位数,会导致折线图中断。