武汉控股:2024年上半年净利润8127.37万元 同比下降76.43%

中证智能财讯 武汉控股(600168)8月26日披露2024年半年报。2024年上半年,公司实现营业总收入18.09亿元,同比增长14.57%;归母净利润8127.37万元,同比下降76.43%;扣非净利润6134.34万元,同比扭亏;经营活动产生的现金流量净额为-1.79亿元,上年同期为-1.35亿元;报告期内,武汉控股基本每股收益为0.08元,加权平均净资产收益率为1.54%。



以8月23日收盘价计算,武汉控股目前市盈率(TTM)约为-31.41倍,市净率(LF)约为0.71倍,市销率(TTM)约为1.12倍。

公司近年市盈率(TTM)、市净率(LF)、市销率(TTM)历史分位图如下所示:



根据半年报,公司第二季度实现营业总收入10.0亿元,同比增长8.87%,环比增长23.57%;归母净利润3195.2万元,同比下降91.35%,环比下降35.22%;扣非净利润2045.6万元,同比增长179.65%,环比下降49.97%。

资料显示,公司核心业务包括污水处理、水务工程建设、自来水生产、隧道运营等。
分产品来看,2024年上半年公司主营业务中,污水处理收入10.00亿元,同比增长8.09%,占营业收入的55.26%;工程施工收入6.51亿元,同比增长29.01%,占营业收入的35.99%;供水收入0.80亿元,同比下降1.83%,占营业收入的4.44%。

2024年上半年,公司毛利率为20.60%,同比上升0.03个百分点;净利率为4.47%,较上年同期下降17.35个百分点。从单季度指标来看,2024年第二季度公司毛利率为19.93%,同比下降1.09个百分点,环比下降1.49个百分点;净利率为3.15%,较上年同期下降37.07个百分点,较上一季度下降2.94个百分点。

分产品看,污水处理收入、工程施工收入、供水收入2024年上半年毛利率分别为34.79%、7.70%、-2.88%。
数据显示,2024年上半年公司加权平均净资产收益率为1.54%,较上年同期下降5.01个百分点;公司2024年上半年投入资本回报率为1.60%,较上年同期下降1.53个百分点。

2024年上半年,公司经营活动现金流净额为-1.79亿元,同比减少4412.84万元;筹资活动现金流净额6.31亿元,同比增加2.12亿元;投资活动现金流净额-6.10亿元,上年同期为-4.82亿元。
进一步统计发现,2024年上半年公司自由现金流为-13.41亿元,上年同期为-15.54亿元。

2024年上半年,公司营业收入现金比为50.33%,净现比为-220.25%。

营运能力方面,2024年上半年,公司公司总资产周转率为0.08次,上年同期为0.08次(2023年上半年行业平均值为0.11次,公司位居同行业40/54);固定资产周转率为0.16次,上年同期为0.17次(2023年上半年行业平均值为1.54次,公司位居同行业52/54);公司应收账款周转率、存货周转率分别为0.38次、75.62次。

2024年上半年,公司期间费用为3.30亿元,较上年同期减少283.31万元;期间费用率为18.26%,较上年同期下降2.84个百分点。其中,销售费用同比下降11.18%,管理费用同比下降1.44%,研发费用同比下降26.98%,财务费用同比增长3.86%。

资产重大变化方面,截至2024年上半年末,公司应收账款较上年末增加16.38%,占公司总资产比重上升2.62个百分点;固定资产较上年末减少2.19%,占公司总资产比重下降2.44个百分点;合同资产较上年末增加72.33%,占公司总资产比重上升1.31个百分点;在建工程较上年末增加51.56%,占公司总资产比重上升0.96个百分点。

负债重大变化方面,截至2024年上半年末,公司一年内到期的非流动负债较上年末增加79.20%,占公司总资产比重上升4.64个百分点;长期借款较上年末减少6.78%,占公司总资产比重下降2.97个百分点;应付账款较上年末减少11.85%,占公司总资产比重下降1.70个百分点;短期借款较上年末增加7.69%,占公司总资产比重上升0.83个百分点。

从存货变动来看,截至2024年上半年末,公司存货账面价值为1599.53万元,占净资产的0.3%,较上年末减少599.81万元。其中,存货跌价准备为168.77万元,计提比例为9.54%。

在偿债能力方面,公司2024年上半年末资产负债率为76.18%,相比上年末上升0.47个百分点;有息资产负债率为61.78%,相比上年末上升2.51个百分点。

2024年上半年,公司流动比率为0.86,速动比率为0.86。

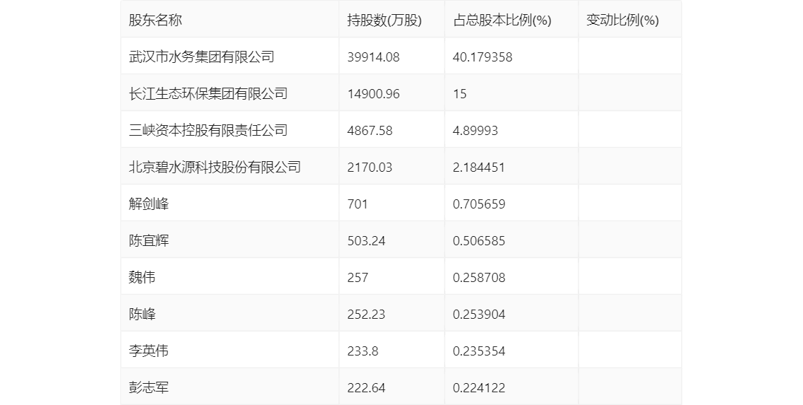
半年报显示,2024年上半年末公司十大流通股东中,新进股东为魏伟,取代了一季度末的袁士宏。在具体持股比例上,解剑峰、陈宜辉、陈峰、李英伟持股有所上升。

筹码集中度方面,截至2024年上半年末,公司股东总户数为3.26万户,较一季度末下降了1059户,降幅3.14%;户均持股市值由一季度末的12.85万元下降至11.93万元,降幅为7.16%。

指标注解:
市盈率
=总市值/净利润。当公司亏损时市盈率为负,此时用市盈率估值没有实际意义,往往用市净率或市销率做参考。
市净率
=总市值/净资产。市净率估值法多用于盈利波动较大而净资产相对稳定的公司。
市销率
=总市值/营业收入。市销率估值法通常用于亏损或微利的成长型公司。
文中市盈率和市销率采用TTM方式,即以截至最近一期财报(含预报)12个月的数据计算。市净率采用LF方式,即以最近一期财报数据计算。
市盈率为负时,不显示当期分位数,会导致折线图中断。