同仁堂:2024年第一季度净利润5.76亿元 同比增长10.04%

中证智能财讯 同仁堂(600085)4月30日披露2024年一季报。2024年第一季度,公司实现营业总收入52.67亿元,同比增长2.42%;归母净利润5.76亿元,同比增长10.04%;扣非净利润5.71亿元,同比增长9.98%;经营活动产生的现金流量净额为-2.52亿元,上年同期为11.45亿元;报告期内,同仁堂基本每股收益为0.42元,加权平均净资产收益率为4.32%。


2024年第一季度,公司毛利率为42.93%,同比下降3.57个百分点;净利率为16.38%,较上年同期上升0.26个百分点。

数据显示,2024年第一季度公司加权平均净资产收益率为4.32%,较上年同期下降0.02个百分点;公司2024年第一季度投入资本回报率为3.49%,较上年同期下降0.25个百分点。

2024年第一季度,公司经营活动现金流净额为-2.52亿元,同比减少13.97亿元;筹资活动现金流净额6.42亿元,同比增加7.95亿元;投资活动现金流净额-9752.23万元,上年同期为-678.92万元。

2024年第一季度,公司营业收入现金比为100.81%,净现比为-43.72%。

资产重大变化方面,截至2024年一季度末,公司应收账款较上年末增加60.64%,占公司总资产比重上升1.92个百分点;货币资金较上年末增加1.77%,占公司总资产比重下降0.81个百分点;固定资产较上年末增加1.17%,占公司总资产比重下降0.32个百分点;存货较上年末增加2.78%,占公司总资产比重下降0.32个百分点。

负债重大变化方面,截至2024年一季度末,公司长期借款较上年末增加55.95%,占公司总资产比重上升2.38个百分点;应付账款较上年末减少9.21%,占公司总资产比重下降1.79个百分点;其他应付款(含利息和股利)较上年末减少17.68%,占公司总资产比重下降0.39个百分点;合同负债较上年末减少14.73%,占公司总资产比重下降0.39个百分点。

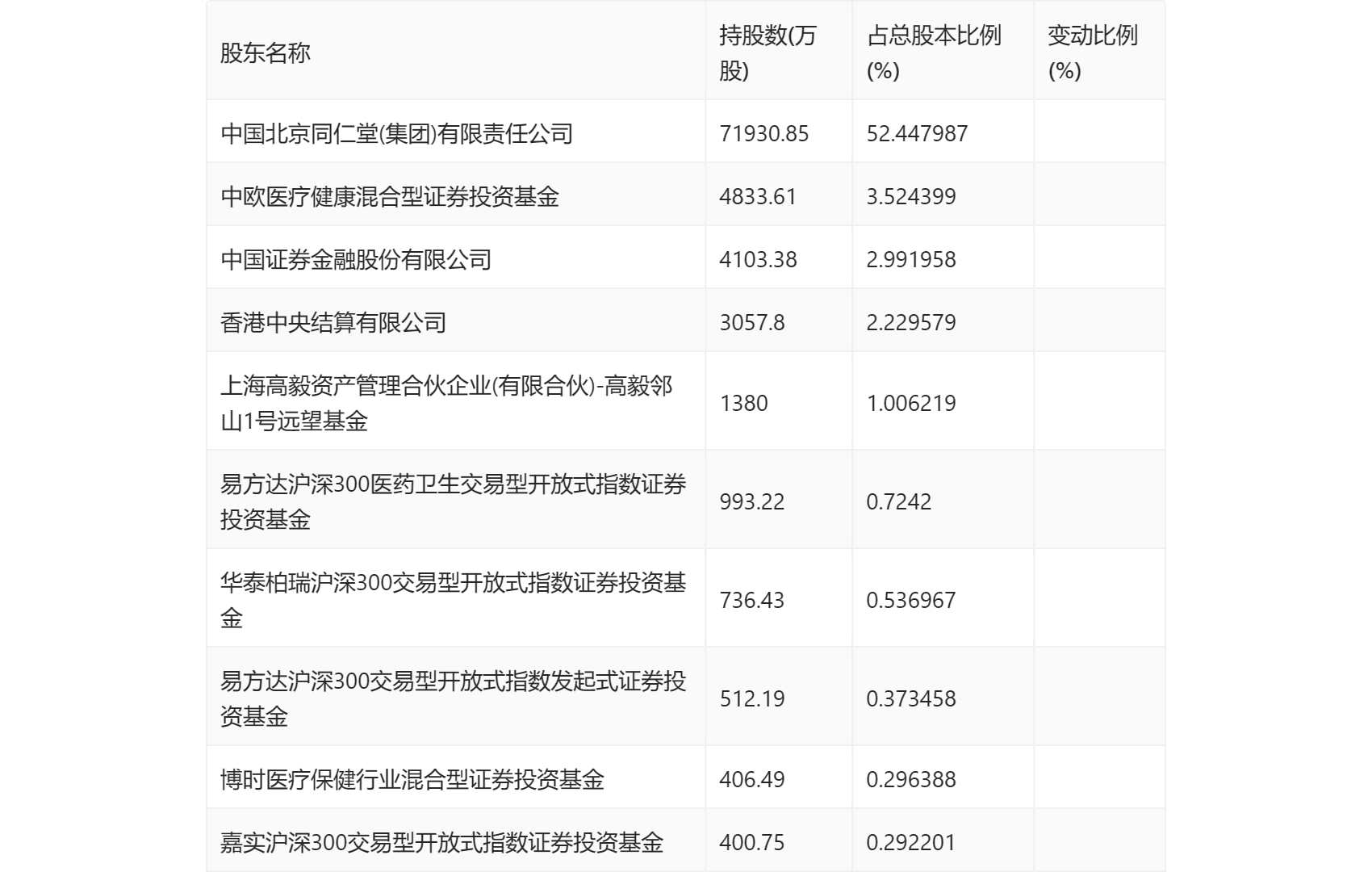
一季报显示,2024年一季度末公司十大流通股东中,新进股东为华泰柏瑞沪深300交易型开放式指数证券投资基金、易方达沪深300交易型开放式指数发起式证券投资基金、博时医疗保健行业混合型证券投资基金、嘉实沪深300交易型开放式指数证券投资基金,取代了上年末的汇添富基金-中国人寿保险股份有限公司-分红险-汇添富基金国寿股份成长股票型组合单一资产管理计划(可供出售)、汇添富基金-中国人寿保险股份有限公司-传统险-汇添富国寿股份成长股票传统可供出售单一资产管理计划、澳门金融管理局-自有资金、工银瑞信前沿医疗股票型证券投资基金。在具体持股比例上,香港中央结算有限公司持股有所上升,中欧医疗健康混合型证券投资基金、上海高毅资产管理合伙企业(有限合伙)-高毅邻山1号远望基金、易方达沪深300医药卫生交易型开放式指数证券投资基金持股有所下降。

筹码集中度方面,截至2024年一季度末,公司股东总户数为10.51万户,较上年末增长了2.82万户,增幅36.73%;户均持股市值由上年末的95.81万元下降至53.49万元,降幅为44.17%。
