查股网.CN
首页
选股
热点
资金
板块
大盘
DDX
游资
龙虎
导航
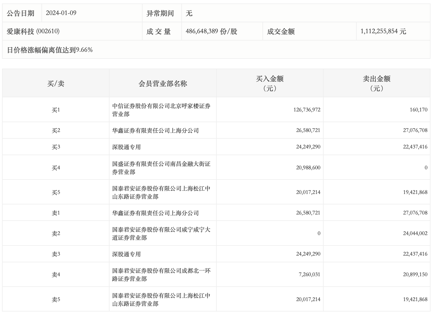
龙虎榜丨爱康科技今日涨停,中信证券北京呼家楼席位净买入1.27亿元
龙虎榜丨爱康科技今日涨停,中信证券北京呼家楼席位净买入1.27亿元
查股网
2024-01-09 16:43
中信证券(600030)个股分析
1月9日,
爱康科技
今日涨停,成交额11.12亿元,换手率10.87%,盘后龙虎榜数据显示,
中信证券
北京呼家楼席位净买入1.27亿元,深股通专用席位买入2424.93万元并卖出2243.74万元。