龙虎榜丨思泉新材今日跌8.89%,机构合计净卖出528.08万元

查股网  2023-11-14 21:45  思泉新材(301489)个股分析

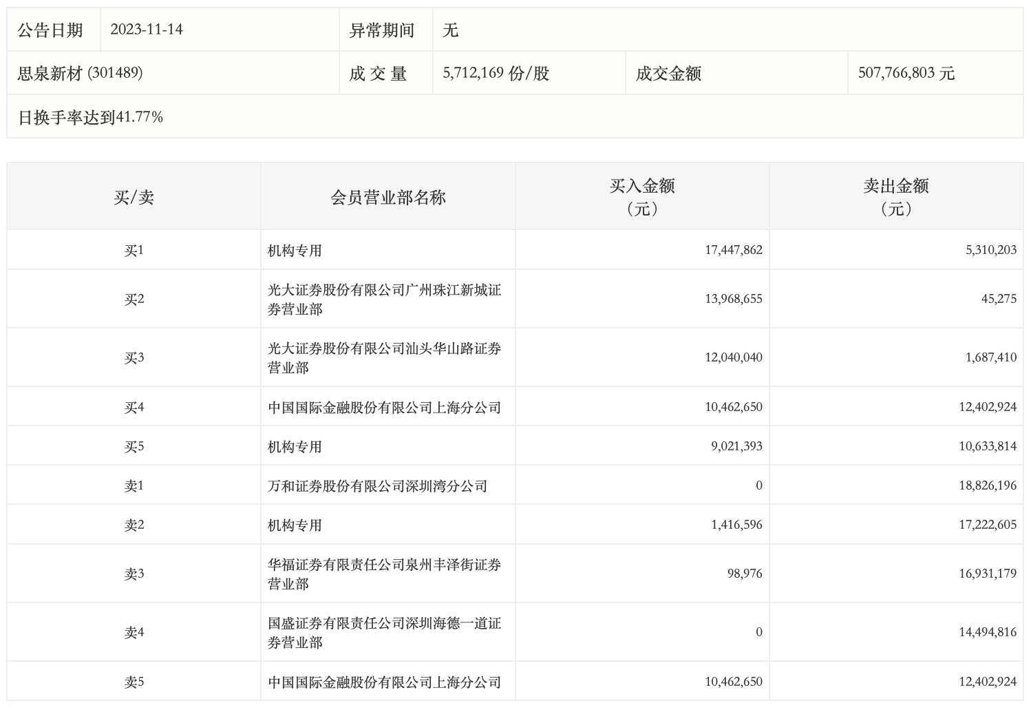
11月14日,思泉新材今日跌8.89%,全天换手率达41.77%,振幅达10.23%。龙虎榜数据显示,营业部席位合计净卖出3309.82万元。其中,机构买入2788.59万元,卖出3316.66万元,合计净卖出528.08万元。此外,万和证券深圳湾分公司、华福证券泉州丰泽街证券营业部分别卖出1882.62万元、1693.12万元;光大证券(维权)广州珠江新城证券营业部、光大证券汕头华山路证券营业部分别买入1396.87万元、1204.00万元。