龙虎榜丨星源卓镁今日涨5.63%,机构合计净买入668.17万元

http://ddx.gubit.cn  2023-07-12 20:20  星源卓镁(301398)公司分析

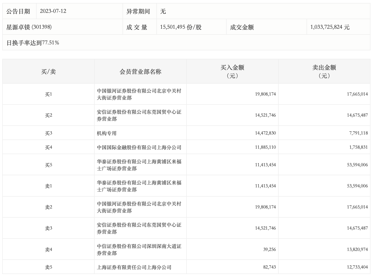
7月10日,星源卓镁今日涨5.63%,龙虎榜数据显示,上榜营业部席位全天成交1.94亿元,占当日总成交金额比例为18.79%。其中,买入金额为7222.33万元,卖出金额为1.22亿元,合计净卖出4981.55万元。

具体来看,机构买入1447.28万元,卖出779.11万元,合计净买入668.17万元。此外,中国银河证券北京中关村大街证券营业部、安信证券东莞国贸中心证券营业部分别买入1980.82万元、1452.17万元;华泰证券上海黄浦区来福士广场证券营业部、中国银河证券北京中关村大街证券营业部分别卖出5359.40万元、1766.50万元。