龙虎榜丨未来电器今日跌8.2%,机构合计净买入473.61万元

http://ddx.gubit.cn  2023-07-18 16:41  未来电器(301386)公司分析

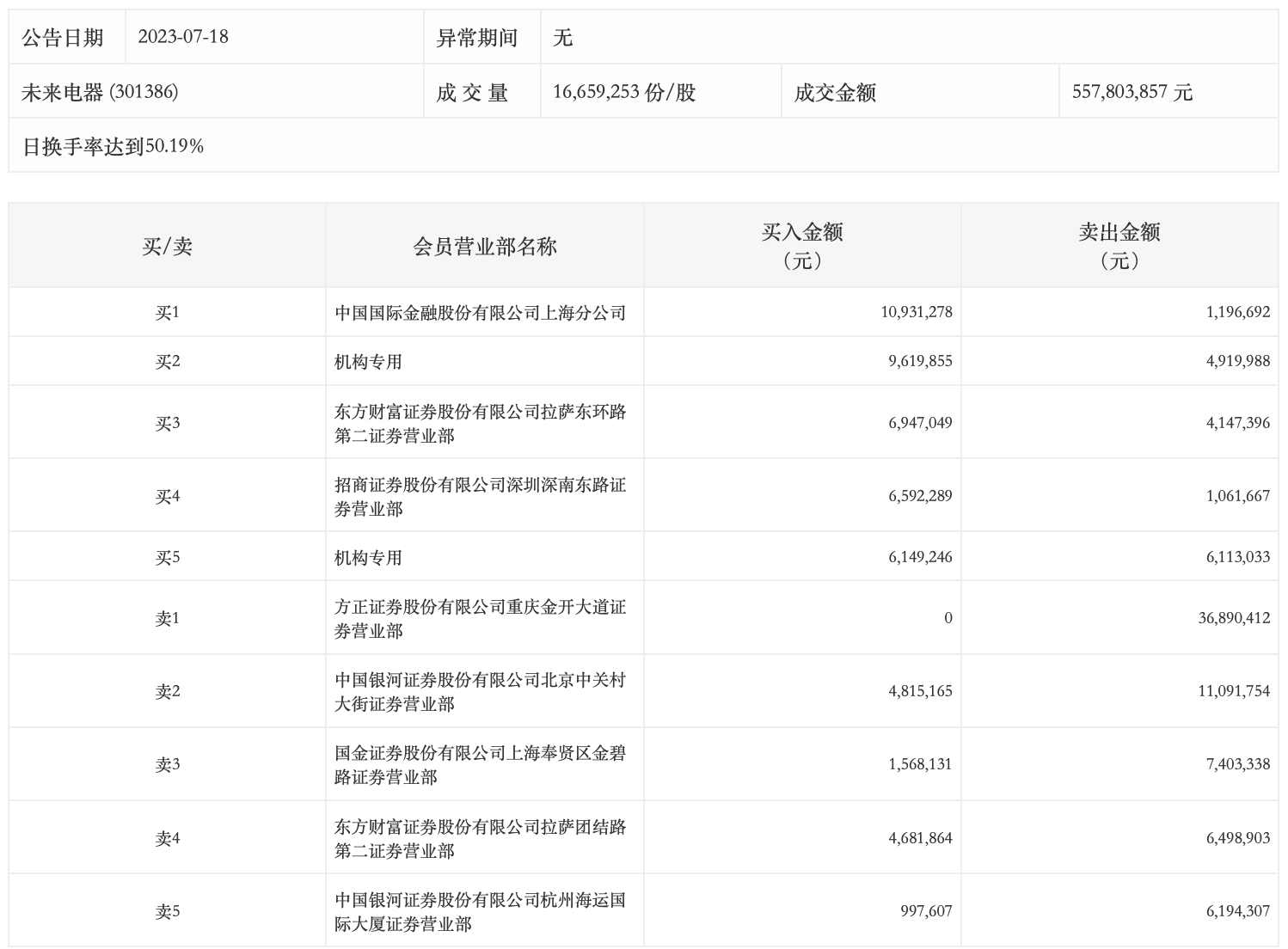
7月18日,未来电器今日跌8.2%,龙虎榜数据显示,上榜营业部席位全天成交1.38亿元,占当日总成交金额比例为24.71%。其中,买入金额为5230.25万元,卖出金额为8551.75万元,合计净卖出3321.5万元。

具体来看,机构买入1576.91万元,卖出1103.3万元,合计净买入473.61万元。此外,方正证券重庆金开大道证券营业部、中国银河证券北京中关村大街证券营业部分别卖出3689.04万元、1109.18万元;中国国际金融上海分公司、东方财富证券拉萨东环路第二证券营业部分别买入1093.13万元、694.70万元。