龙虎榜丨凡拓数创今日涨停,机构合计净买入111.42万元

http://ddx.gubit.cn  2023-06-05 16:44  凡拓数创(301313)公司分析

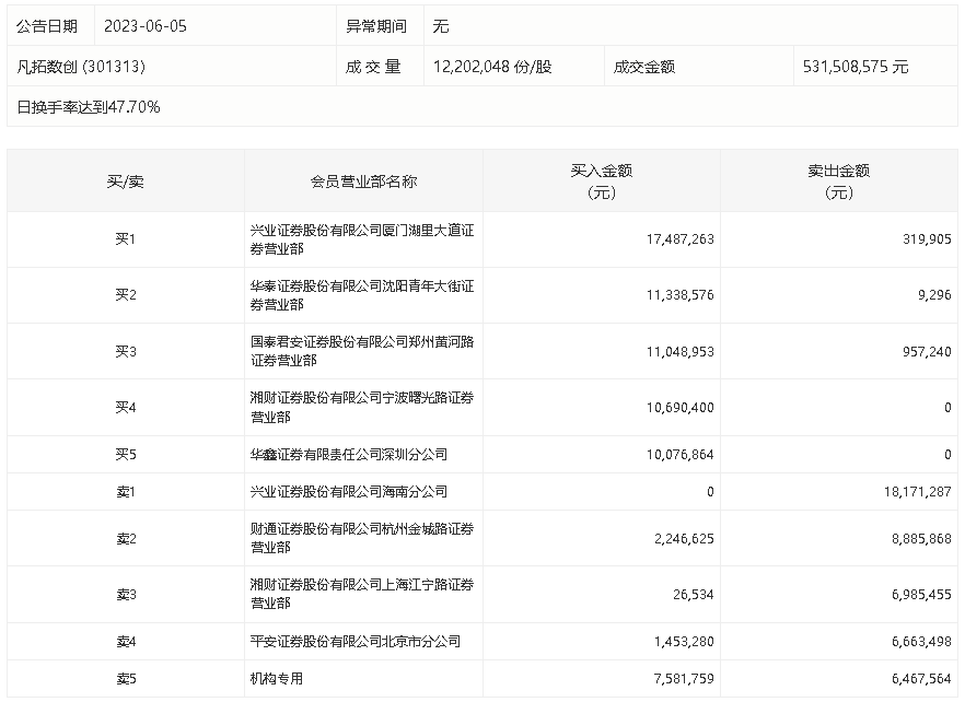
6月5日,凡拓数创今日涨停,龙虎榜数据显示,上榜营业部席位全天成交1.2亿元,占当日总成交金额比例为22.65%。其中,买入金额为7195.03万元,卖出金额为4846.01万元,合计净买入2349.01万元。

具体来看,机构买入758.18万元,卖出646.76万元,合计净买入111.42万元。此外,兴业证券厦门湖里大道证券营业部、华泰证券沈阳青年大街证券营业部分别买入1748.73万元、1133.86万元;兴业证券海南分公司、财通证券杭州金城路证券营业部分别卖出1817.13万元、888.59万元。