龙虎榜丨富乐德今日涨停,机构合计净卖出3489.78万元

http://ddx.gubit.cn  2023-11-08 16:50  富乐德(301297)公司分析

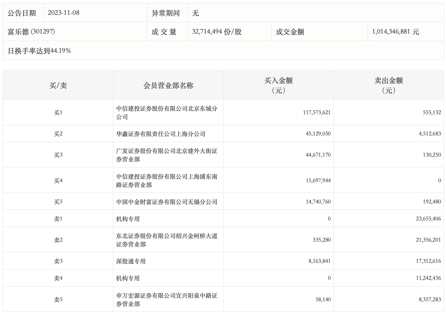
11月8日,富乐德今日涨停,全天换手率达44.22%,振幅达20.88%。龙虎榜数据显示,营业部席位合计净买入1.59亿元。其中,机构合计净卖出3489.78万元。此外,中信建投证券北京东城分公司、华鑫证券上海分公司分别买入1.18亿元、4512.91万元;东北证券绍兴金柯桥大道证券营业部、深股通专用分别卖出2135.62万元、1731.26万元。