龙虎榜丨本川智能今日涨10.6%,机构合计净卖出3640.72万元

http://ddx.gubit.cn  2023-06-06 17:50  本川智能(300964)公司分析

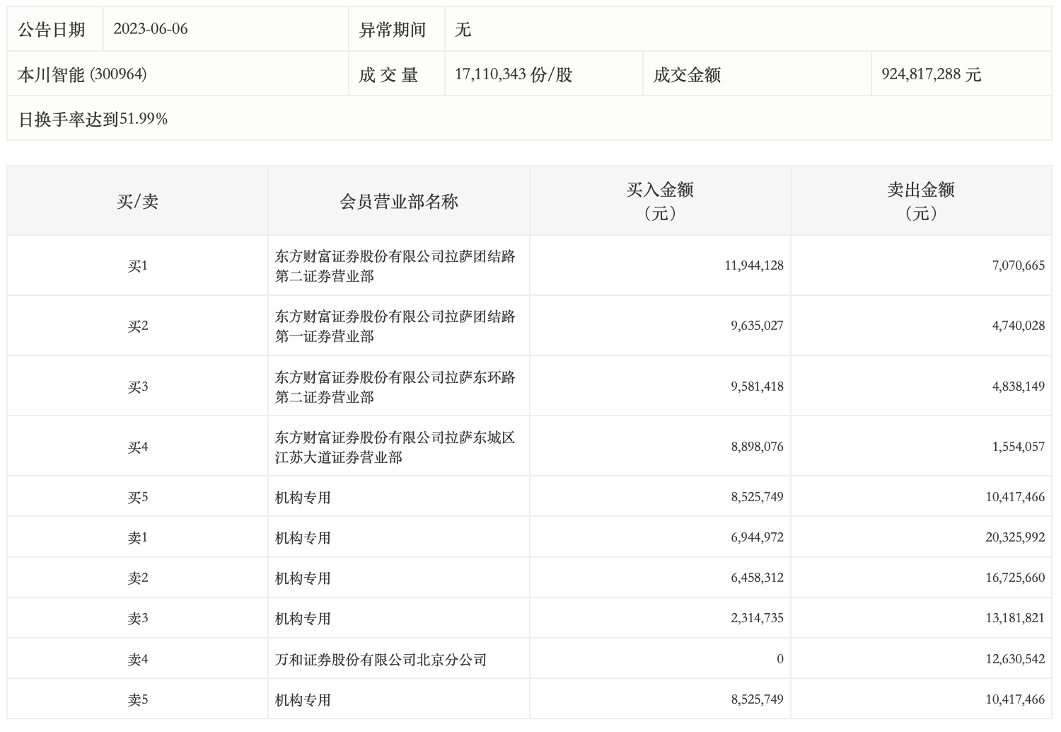
6月6日,本川智能今日涨10.6%,龙虎榜数据显示,上榜营业部席位全天成交1.56亿元,占当日总成交金额比例为16.85%。其中,买入金额为6430.24万元,卖出金额为9148.44万元,合计净卖出2718.2万元。

具体来看,机构买入2424.38万元,卖出6065.09万元,合计净卖出3640.72万元。此外,东方财富证券拉萨团结路第二证券营业部、东方财富证券拉萨团结路第一证券营业部分别买入1194.41万元、963.50万元;万和证券北京分公司、东方财富证券拉萨团结路第二证券营业部分别卖出1263.05万元、707.07万元。