龙虎榜丨本川智能今日涨停,机构合计净买入2334.83万元

http://ddx.gubit.cn  2023-06-05 20:23  本川智能(300964)公司分析

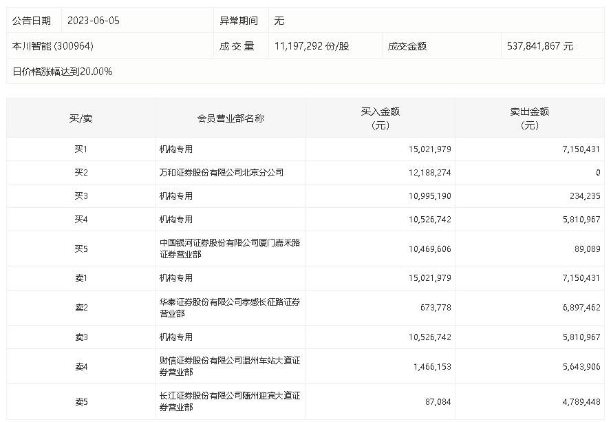
本川智能今日涨停,龙虎榜数据显示,上榜营业部席位全天成交9204.43万元,占当日总成交金额比例为17.11%。其中,买入金额为6142.88万元,卖出金额为3061.55万元,合计净买入3081.33万元。

具体来看,机构买入3654.39万元,卖出1319.56万元,合计净买入2334.83万元。此外,万和证券北京分公司、中国银河证券厦门嘉禾路证券营业部分别买入1218.83万元、1046.96万元;华泰证券孝感长征路证券营业部、财信证券温州车站大道证券营业部分别卖出689.75万元、564.39万元。