龙虎榜 | 兆龙互连今日涨7.13%,机构合计净卖出2894.28万元

http://ddx.gubit.cn  2023-06-06 17:20  兆龙互连(300913)公司分析

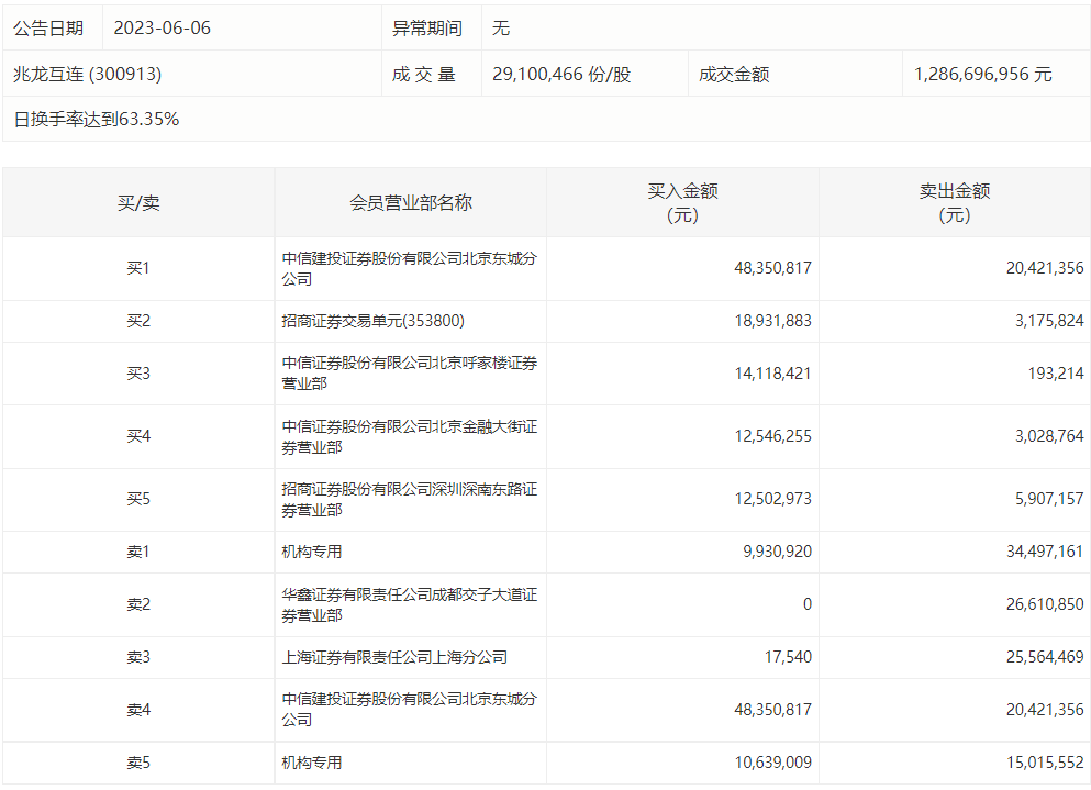
6月6日,兆龙互连今日涨7.13%,龙虎榜数据显示,上榜营业部席位全天成交2.61亿元,占当日总成交金额比例为20.32%。其中,买入金额为1.27亿元,卖出金额为1.34亿元,合计净卖出737.65万元。

具体来看,机构买入2056.99万元,卖出4951.27万元,合计净卖出2894.28万元。此外,中信建投证券北京东城分公司、招商证券交易单元(353800)分别买入4835.08万元、1893.19万元;华鑫证券成都交子大道证券营业部、上海证券上海分公司分别卖出2661.09万元、2556.45万元。