龙虎榜丨兆龙互连今日涨6.76%,机构合计净买入3252.73万元

http://ddx.gubit.cn  2023-05-30 16:40  兆龙互连(300913)公司分析

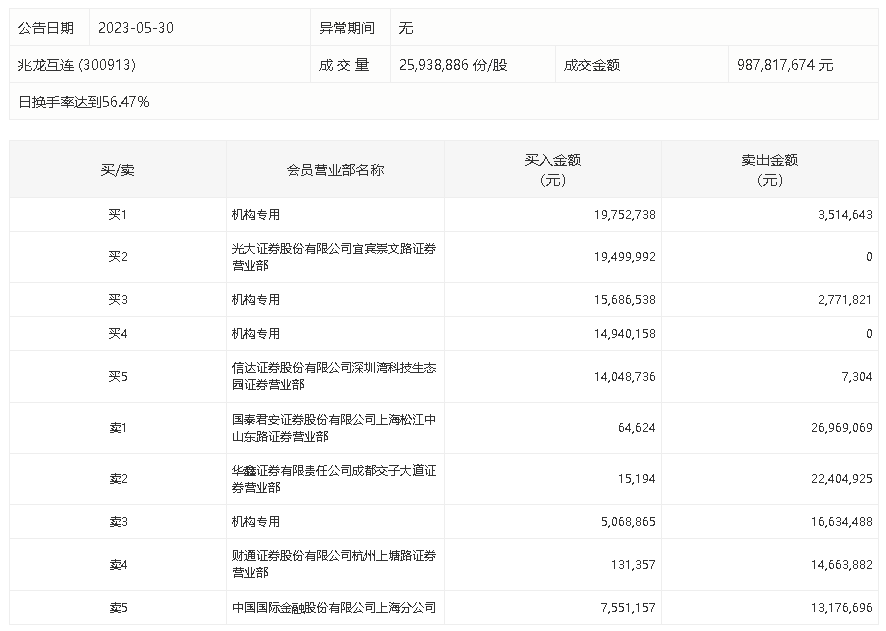
5月30日,兆龙互连今日涨6.76%,龙虎榜数据显示,上榜营业部席位全天成交1.97亿元,占当日总成交金额比例为19.93%。其中,买入金额为9675.94万元,卖出金额为1.0亿元,合计净卖出338.35万元。

具体来看,机构买入5544.83万元,卖出2292.1万元,合计净买入3252.73万元。此外,光大证券宜宾崇文路证券营业部、信达证券深圳湾科技生态园证券营业部分别买入1950.00万元、1404.87万元;国泰君安证券上海松江中山东路证券营业部、华鑫证券成都交子大道证券营业部分别卖出2696.91万元、2240.49万元。