龙虎榜丨西域旅游今日跌停,机构合计净买入1028.26万元

http://ddx.gubit.cn  2023-04-24 21:47  西域旅游(300859)公司分析

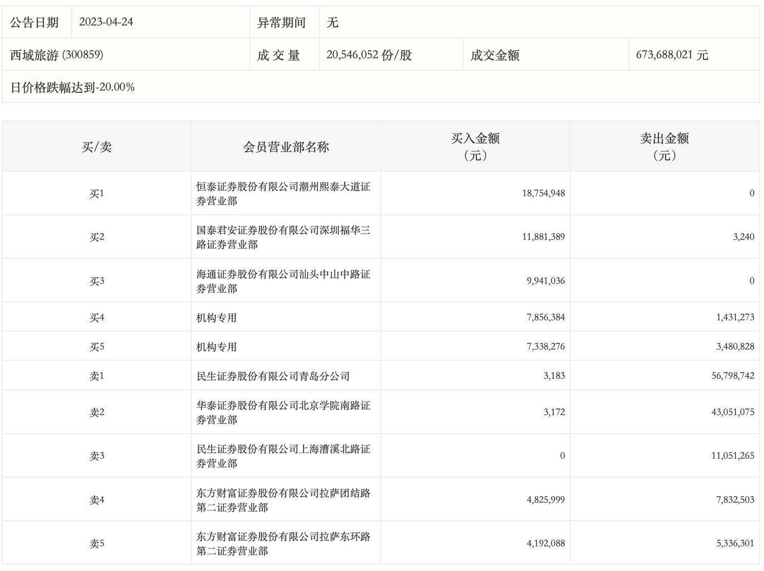
4月24日,西域旅游今日跌停,龙虎榜数据显示,上榜营业部席位全天成交1.94亿元,占当日总成交金额比例为28.76%。其中,买入金额为6479.65万元,卖出金额为1.29亿元,合计净卖出6418.88万元。

具体来看,机构买入1519.47万元,卖出491.21万元,合计净买入1028.26万元。此外,民生证券青岛分公司、华泰证券北京学院南路证券营业部分别卖出5679.87万元、4305.11万元;恒泰证券潮州熙泰大道证券营业部、国泰君安证券深圳福华三路证券营业部分别买入1875.49万元、1188.14万元。