龙虎榜 | *ST左江今日跌15.34%,“拉萨天团”占7席

查股网  2024-02-08 19:39  *ST左江(300799)个股分析

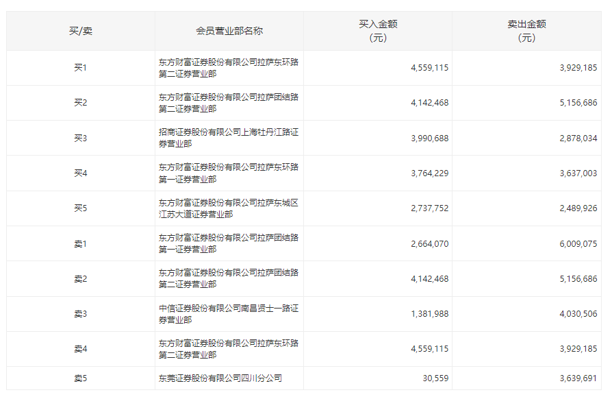
2月8日,*ST左江今日跌15.34%,全天换手率达21.81%,振幅达23.2%。龙虎榜数据显示,营业部席位合计净卖出849.92万元。其中,东方财富证券拉萨团结路第一证券营业部、东方财富证券拉萨团结路第二证券营业部分别卖出600.91万元、515.67万元;东方财富证券拉萨东环路第二证券营业部、东方财富证券拉萨团结路第二证券营业部分别买入455.91万元、414.25万元。