查股网.CN
首页
选股
热点
资金
板块
大盘
DDX
游资
龙虎
导航
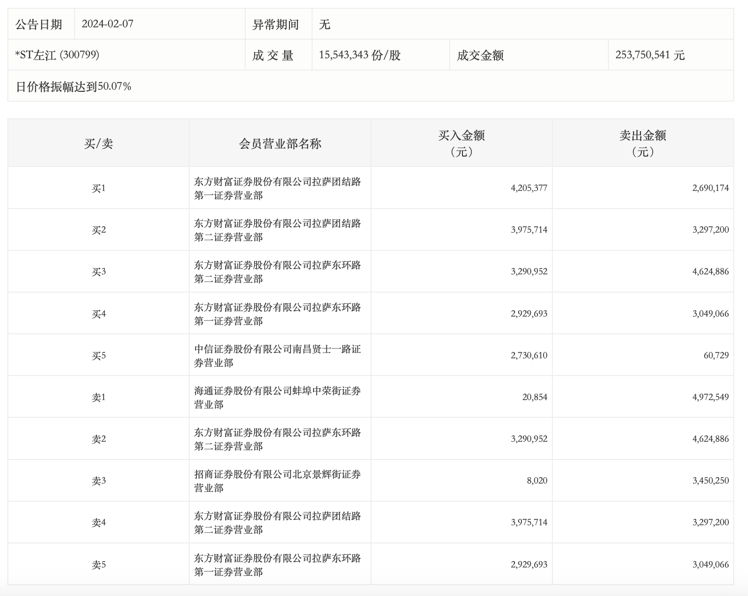
龙虎榜丨*ST左江今日上演“地天板”, “拉萨天团”占七席
龙虎榜丨*ST左江今日上演“地天板”, “拉萨天团”占七席
查股网
2024-02-07 17:10
*ST左江(300799)个股分析
2月7日,
*ST左江
今日上演“地天板”,盘后龙虎榜显示,榜上席位合计买入1716.13万元,卖出2214.48万元,其中“拉萨天团”占据七席。