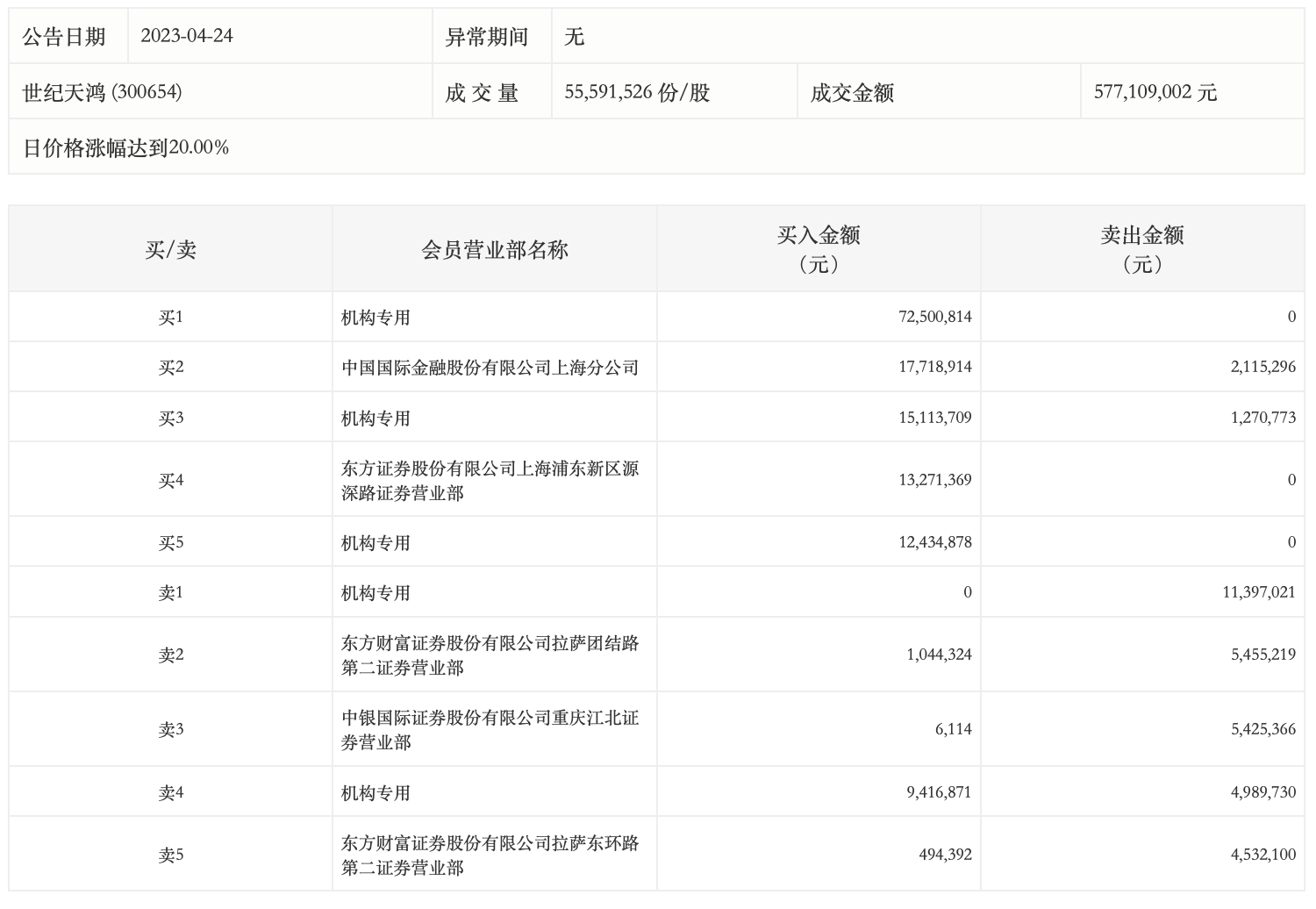
龙虎榜丨世纪天鸿今日涨停,机构合计净买入9180.87万元

http://ddx.gubit.cn  2023-04-24 21:42  世纪天鸿(300654)公司分析

4月24日,世纪天鸿今日涨停,龙虎榜数据显示,上榜营业部席位全天成交1.77亿元,占当日总成交金额比例为30.7%。其中,买入金额为1.42亿元,卖出金额为3518.55万元,合计净买入1.07亿元。

具体来看,机构买入1.09亿元,卖出1765.75万元,合计净买入9180.87万元。此外,中国国际金融上海分公司、东方证券上海浦东新区源深路证券营业部分别买入1771.89万元、1327.14万元;东方财富证券拉萨团结路第二证券营业部、中银国际证券重庆江北证券营业部分别卖出545.52万元、542.54万元。