龙虎榜丨普利制药今日涨停,营业部席位合计净买入1.72亿元

http://ddx.gubit.cn  2023-10-27 22:23  普利制药(300630)公司分析

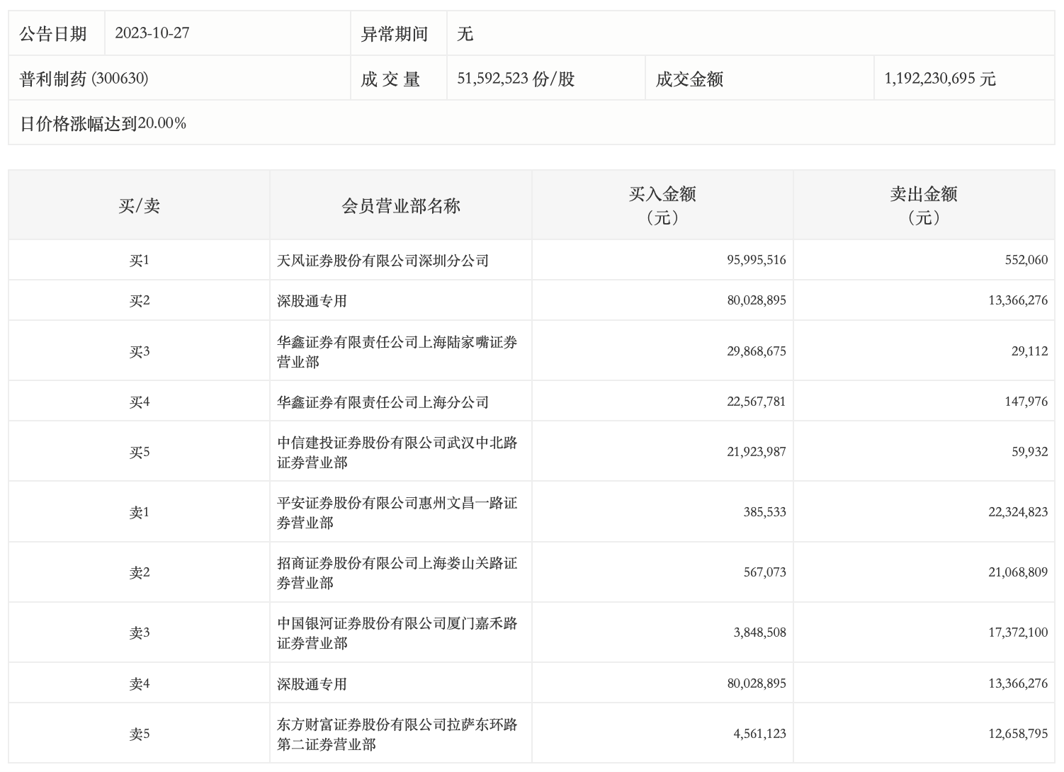
10月27日,普利制药今日涨停,全天换手率达16.02%,振幅达20.94%。龙虎榜数据显示,营业部席位合计净买入1.72亿元。其中,天风证券深圳分公司、深股通专用分别买入9599.55万元、8002.89万元;平安证券惠州文昌一路证券营业部、招商证券上海娄山关路证券营业部分别卖出2232.48万元、2106.88万元。