龙虎榜丨万集科技今日涨停,营业部席位合计净买入1.04亿元

查股网  2023-11-23 20:37  万集科技(300552)个股分析

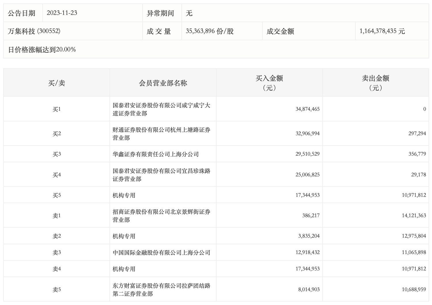
11月23日,万集科技今日涨停,全天换手率达28.09%,振幅达23.1%。龙虎榜数据显示,营业部席位合计净买入1.04亿元。其中,机构买入2118.02万元,卖出2394.76万元,合计净卖出276.75万元。此外,国泰君安证券咸宁咸宁大道证券营业部、财通证券杭州上塘路证券营业部分别买入3487.45万元、3290.70万元;招商证券北京景辉街证券营业部、中国国际金融上海分公司分别卖出1412.14万元、1106.59万元。