龙虎榜 | 神思电子今日跌0.08%,知名游资小鳄鱼净卖出4044.52万元

查股网  2024-12-11 21:11  神思电子(300479)个股分析

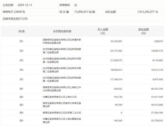
神思电子今日跌0.08%,龙虎榜数据显示,上榜营业部席位全天成交3.75亿元,占当日总成交金额比例为19.62%。其中,买入金额为1.15亿元,卖出金额为2.6亿元,合计净卖出1.45亿元。

具体来看,知名游资现身龙虎榜,小鳄鱼(南京证券股份有限公司南京大钟亭证券营业部)净卖出4044.52万元。此外,国泰君安证券上海松江中山东路证券营业部、华鑫证券上海分公司分别卖出6835.37万元、5761.75万元;国泰君安证券北京通州新华西街证券营业部、东方财富证券拉萨团结路第二证券营业部分别买入3216.57万元、2515.75万元。