龙虎榜丨昇辉科技今日涨停,机构合计净卖出1181.61万元

查股网  2024-06-04 20:56  昇辉科技(300423)个股分析

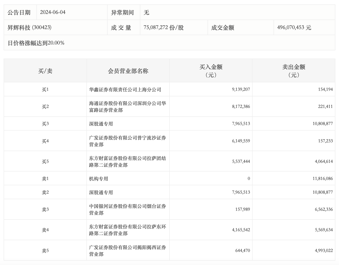
6月4日,昇辉科技今日涨停,龙虎榜数据显示,上榜营业部席位全天成交8627.95万元,占当日总成交金额比例为17.39%。其中,买入金额为4193.21万元,卖出金额为4434.74万元,合计净卖出241.53万元。

具体来看,机构合计净卖出1181.61万元。此外,华鑫证券上海分公司、海通证券深圳分公司华富路证券营业部分别买入913.92万元、817.24万元;深股通专用、中国银河证券烟台证券营业部分别卖出1080.89万元、656.23万元。