天和防务:2024年上半年亏损2763.86万元

中证智能财讯 天和防务(300397)8月29日披露2024年半年度报告。2024年上半年,公司实现营业收入2.07亿元,同比增长5.83%;归母净利润亏损2763.86万元,上年同期亏损4775.88万元;扣非净利润亏损3000.89万元,上年同期亏损5292.37万元;经营活动产生的现金流量净额为-6076.86万元,上年同期为-6215.35万元;报告期内,天和防务基本每股收益为-0.05元,加权平均净资产收益率为-1.70%。

以8月28日收盘价计算,天和防务目前市盈率(TTM)约为-23.51倍,市净率(LF)约为2.56倍,市销率(TTM)约为11.41倍。

公司近年市盈率(TTM)、市净率(LF)、市销率(TTM)历史分位图如下所示:



根据半年报,公司第二季度实现营业总收入7175.03万元,同比下降37.30%,环比下降46.79%;归母净利润-3463.66万元,同比下降33.33%,环比下降594.95%;扣非净利润-3538.03万元,同比下降22.55%,环比下降758.68%。

资料显示,公司已形成了“军工装备”“通信电子”“新一代综合电子信息(天融工程)”三大业务体系并持续深耕。
2024年上半年,公司毛利率为30.67%,同比上升5.87个百分点;净利率为-16.59%,较上年同期上升12.66个百分点。从单季度指标来看,2024年第二季度公司毛利率为20.45%,同比下降2.83个百分点,环比下降15.66个百分点;净利率为-55.71%,较上年同期下降28.78个百分点,较上一季度下降59.94个百分点。

数据显示,2024年上半年公司加权平均净资产收益率为-1.70%,较上年同期增长0.94个百分点;公司2024年上半年投入资本回报率为-1.63%,较上年同期增长1.06个百分点。

2024年上半年,公司经营活动现金流净额为-6076.86万元,同比增加138.49万元;筹资活动现金流净额-958.79万元,同比减少1.38亿元;投资活动现金流净额-4926.95万元,上年同期为-1.32亿元。
进一步统计发现,2024年上半年公司自由现金流为-1.37亿元,上年同期为-2.18亿元。

2024年上半年,公司营业收入现金比为99.72%。

营运能力方面,2024年上半年,公司总资产周转率为0.08次,上年同期为0.08次(2023年上半年行业平均值为0.13次,公司位居同行业49/62);固定资产周转率为0.60次,上年同期为0.52次(2023年上半年行业平均值为1.69次,公司位居同行业54/62);公司应收账款周转率、存货周转率分别为1.50次、0.49次。

2024年上半年,公司期间费用为9817.60万元,较上年同期减少109.29万元;期间费用率为47.52%,较上年同期下降3.33个百分点。其中,销售费用同比下降6.13%,管理费用同比下降10.4%,研发费用同比下降13.15%,财务费用由去年同期的-1119.97万元变为-29.44万元。
资料显示,财务费用的变动主要因为变动的主要原因系汇率变动。

资产重大变化方面,截至2024年上半年末,公司货币资金较上年末减少40.65%,占公司总资产比重下降4.85个百分点;在建工程较上年末增加5.70%,占公司总资产比重上升2.70个百分点;应收账款较上年末增加20.74%,占公司总资产比重上升1.21个百分点;存货较上年末增加4.40%,占公司总资产比重上升0.87个百分点。

负债重大变化方面,截至2024年上半年末,公司长期借款较上年末减少23.87%,占公司总资产比重下降2.06个百分点;其他应付款(含利息和股利)较上年末减少47.50%,占公司总资产比重下降1.43个百分点;短期借款较上年末增加70.89%,占公司总资产比重上升1.23个百分点;长期应付款合计较上年末增加21.52%,占公司总资产比重上升0.95个百分点。

从存货变动来看,截至2024年上半年末,公司存货账面价值为3.01亿元,占净资产的18.66%,较上年末增加1268.98万元。其中,存货跌价准备为4877.9万元,计提比例为13.94%。

在偿债能力方面,公司2024年上半年末资产负债率为36.09%,相比上年末下降0.72个百分点;有息资产负债率为15.77%,相比上年末下降0.12个百分点。

2024年上半年,公司流动比率为1.40,速动比率为0.85。

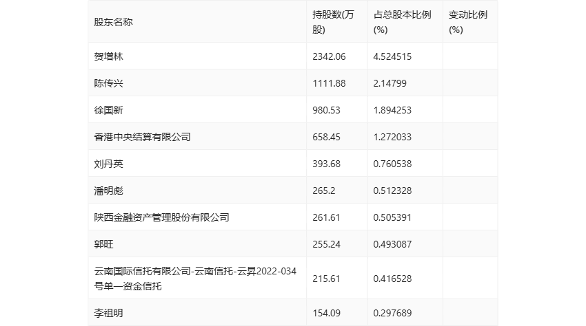
半年报显示,2024年上半年末公司十大流通股东中,新进股东为李祖明,取代了一季度末的西安天兴华盈企业管理咨询合伙企业(有限合伙)。在具体持股比例上,徐国新、香港中央结算有限公司持股有所上升,贺增林持股有所下降。

值得注意的是,根据半年报数据,天和防务21.59%股份处于质押状态。其中,第一大股东贺增林质押9601.71万股公司股份,占其全部持股的73.88%。
筹码集中度方面,截至2024年上半年末,公司股东总户数为5.45万户,较一季度末增长了4564户,增幅9.13%;户均持股市值由一季度末的9.58万元下降至8.73万元,降幅为8.87%。

指标注解:
市盈率
=总市值/净利润。当公司亏损时市盈率为负,此时用市盈率估值没有实际意义,往往用市净率或市销率做参考。
市净率
=总市值/净资产。市净率估值法多用于盈利波动较大而净资产相对稳定的公司。
市销率
=总市值/营业收入。市销率估值法通常用于亏损或微利的成长型公司。
文中市盈率和市销率采用TTM方式,即以截至最近一期财报(含预报)12个月的数据计算。市净率采用LF方式,即以最近一期财报数据计算。
市盈率为负时,不显示当期分位数,会导致折线图中断。