泰格医药涨超8%,含30只创新药成份股的生物药ETF(159839)涨超2%弹性尽显,连续3日吸金,盘中又获净流入,融资余额连续攀升
截至2024年4月9日13:41,国证生物医药指数(399441)强势上涨2.27%,成分股昭衍新药(603127)上涨9.98%,泰格医药(300347)上涨7.47%,美迪西(688202)上涨5.36%,君实生物(688180),华兰疫苗(301207)等个股跟涨。生物药ETF(159839)上涨2.25%,最新价报0.36元,盘中成交额已达898.33万元,换手率1.86%。
从资金净流入方面来看,生物药ETF近3天获得连续资金净流入,最高单日获得374.76万元净流入,合计“吸金”815.08万元,日均净流入达271.69万元。
图片来源:Wind消息面上,4月5日-10日将召开2024年第115届美国癌症研究协会(AACR)年会,国内外创新药企或将披露多项临床和临床前数据。根据相关数据显示,中国药企几乎占到AACR上ADC报告的一大半,其中也有大量新靶点ADC和双抗ADC等。
平安证券指出,看好医药行业三大投资主线。①围绕创新,布局“空间大”“格局好”的品类,如阿尔茨海默、核医学、高端透皮贴剂等细分领域投资机会;②掘金海外市场类的企业大有可为;③其他景气度边际转暖的赛道,如器械、药店、口腔和中医医疗服务等领域。
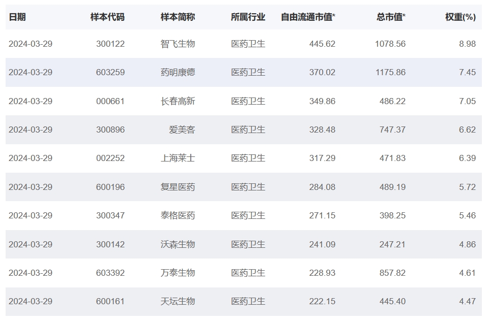
看好创新药超跌反弹,A股弹性更高、成份股高度集中至30只的生物药ETF(159839)备受关注。资料显示,生物药ETF(159839)跟踪国证生物医药指数(399441),配置A股30个生物医药行业龙头,集中度高、纯度高,在CXO、疫苗、创新药等领域占比较大,前十大权重股占比达61.61%,包括智飞生物、药明康德、长春高新、爱美克、上海莱士、复星医药、泰格医药、万泰生物等。

生物药ETF紧密跟踪国证生物医药指数,国证生物医药指数以沪深北交易所属于生物医药产业相关上市公司为样本空间,根据市值规模和流动性的综合排名,选出前30只证券作为指数样本股,反映了生物医药行业的整体运行情况,向市场提供了细分行业的指数化投资标的。