龙虎榜 | 润和软件今日涨停,知名游资作手新一买入2.02亿元

查股网  2024-10-30 20:34  润和软件(300339)个股分析

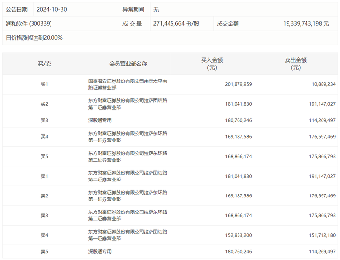
润和软件今日涨停,龙虎榜数据显示,上榜营业部席位全天成交18.75亿元,占当日总成交金额比例为9.7%。其中,买入金额为10.55亿元,卖出金额为8.2亿元,合计净买入2.34亿元。

具体来看,知名游资现身龙虎榜,作手新一(国泰君安证券南京太平南路证券营业部)、东方财富证券拉萨团结路第二证券营业部分别买入2.02亿元、1.81亿元;东方财富证券拉萨团结路第二证券营业部、东方财富证券拉萨东环路第一证券营业部分别卖出1.91亿元、1.77亿元。