龙虎榜丨开元教育今日涨12.84%,机构合计净买入654.49万元

查股网  2024-02-21 17:05  开元教育(300338)个股分析

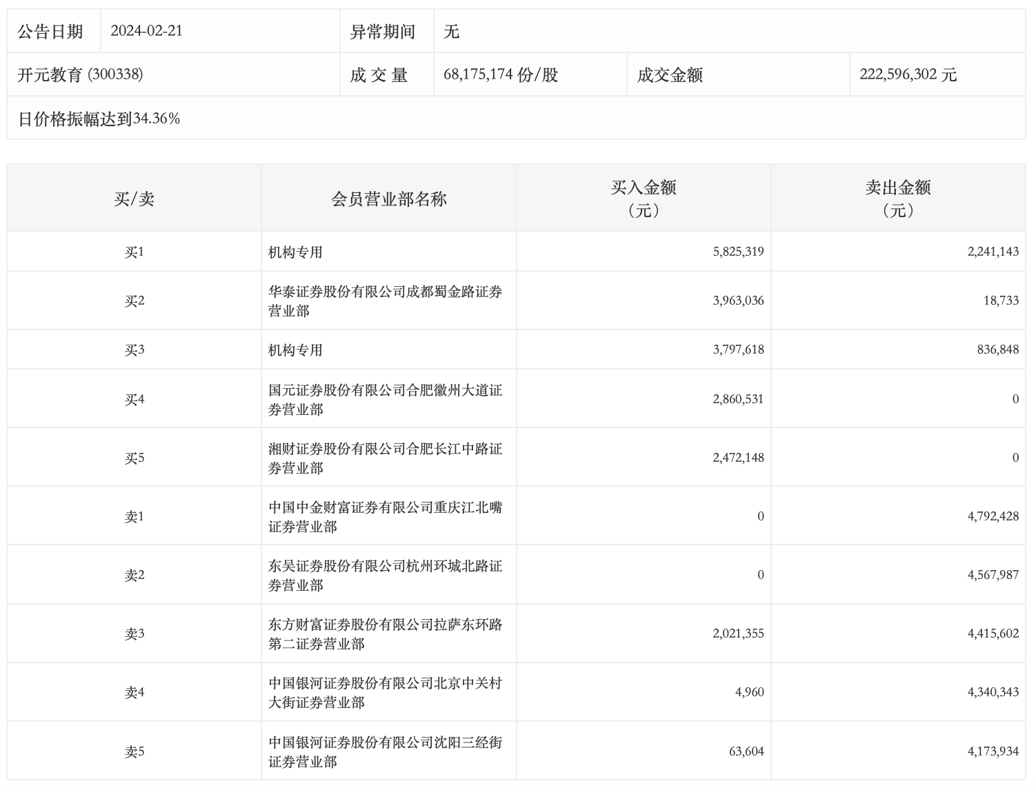
2月21日,开元教育今日涨12.84%,龙虎榜数据显示,上榜营业部席位全天成交4639.56万元,占当日总成交金额比例为20.84%。其中,买入金额为2100.86万元,卖出金额为2538.7万元,合计净卖出437.84万元。

具体来看,机构买入962.29万元,卖出307.8万元,合计净买入654.49万元。此外,华泰证券成都蜀金路证券营业部、国元证券合肥徽州大道证券营业部分别买入396.30万元、286.05万元;中国中金财富证券有限公司重庆江北嘴证券营业部、东吴证券杭州环城北路证券营业部分别卖出479.24万元、456.80万元。