龙虎榜丨银邦股份今日涨停,知名游资现身龙虎榜,宁波桑田路净卖出2124.99万元

http://ddx.gubit.cn  2023-11-06 16:50  银邦股份(300337)公司分析

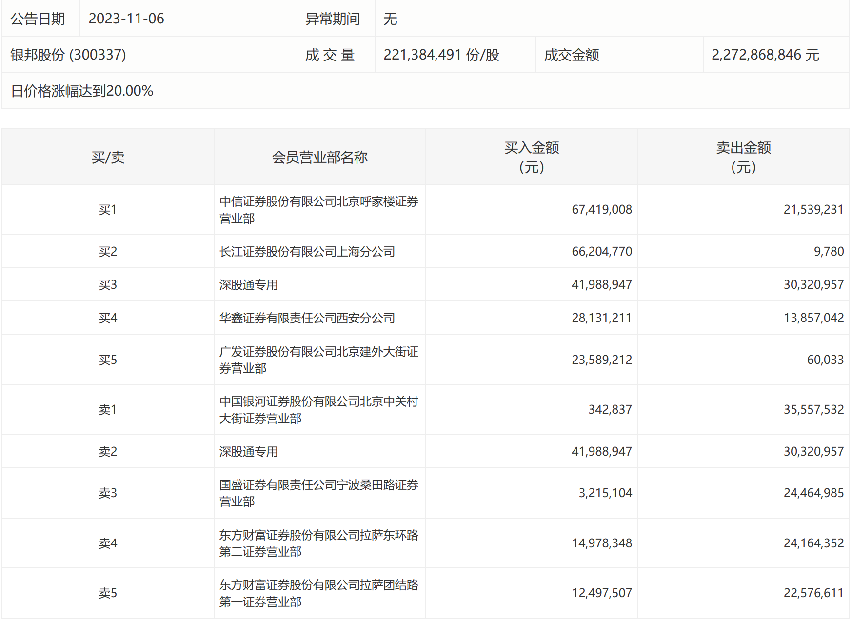
11月6日,银邦股份今日涨停,龙虎榜数据显示,上榜营业部席位全天成交4.31亿元,占当日总成交金额比例为18.96%。其中,买入金额为2.58亿元,卖出金额为1.73亿元,合计净买入8581.64万元。

具体来看,知名游资现身龙虎榜,宁波桑田路(国盛证券有限责任公司宁波桑田路证券营业部)净卖出2124.99万元。此外,中信证券北京呼家楼证券营业部、长江证券上海分公司分别买入6741.90万元、6620.48万元;中国银河证券北京中关村大街证券营业部、深股通专用分别卖出3555.75万元、3032.10万元。