龙虎榜丨海达股份今日涨停,上榜营业部合计净卖出1.81亿元

查股网  2024-10-25 21:17  海达股份(300320)个股分析

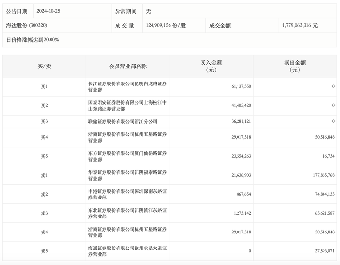
10月25日,海达股份今日涨停,龙虎榜数据显示,上榜营业部席位全天成交6.12亿元,占当日总成交金额比例为34.38%。其中,买入金额为2.15亿元,卖出金额为3.96亿元,合计净卖出1.81亿元。

具体来看,长江证券昆明白龙路证券营业部、国泰君安证券上海松江中山东路证券营业部分别买入6113.73万元、4140.54万元;华泰证券江阴福泰路证券营业部、申港证券深圳深南东路证券营业部分别卖出1.78亿元、7484.41万元。