龙虎榜丨掌趣科技今日涨停,机构合计净卖出1107.32万元,作手新一买入1.07亿元

http://ddx.gubit.cn  2023-04-28 23:04  掌趣科技(300315)公司分析

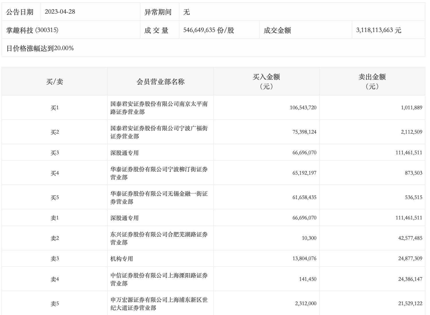
4月28日,掌趣科技今日涨停,龙虎榜数据显示,上榜营业部席位全天成交6.21亿元,占当日总成交金额比例为19.92%。其中,买入金额为3.92亿元,卖出金额为2.29亿元,合计净买入1.62亿元。

具体来看,机构买入1380.41万元,卖出2487.73万元,合计净卖出1107.32万元。此外,知名游资现身龙虎榜,作手新一(国泰君安证券南京太平南路证券营业部)、国泰君安证券宁波广福街证券营业部分别买入1.07亿元、7539.81万元;深股通专用、东兴证券合肥芜湖路证券营业部分别卖出1.11亿元、4257.75万元。