龙虎榜丨森远股份今日涨停,机构合计净卖出726.31万元,知名游资炒股养家净买入2821.53万元

http://ddx.gubit.cn  2023-11-07 20:26  森远股份(300210)公司分析

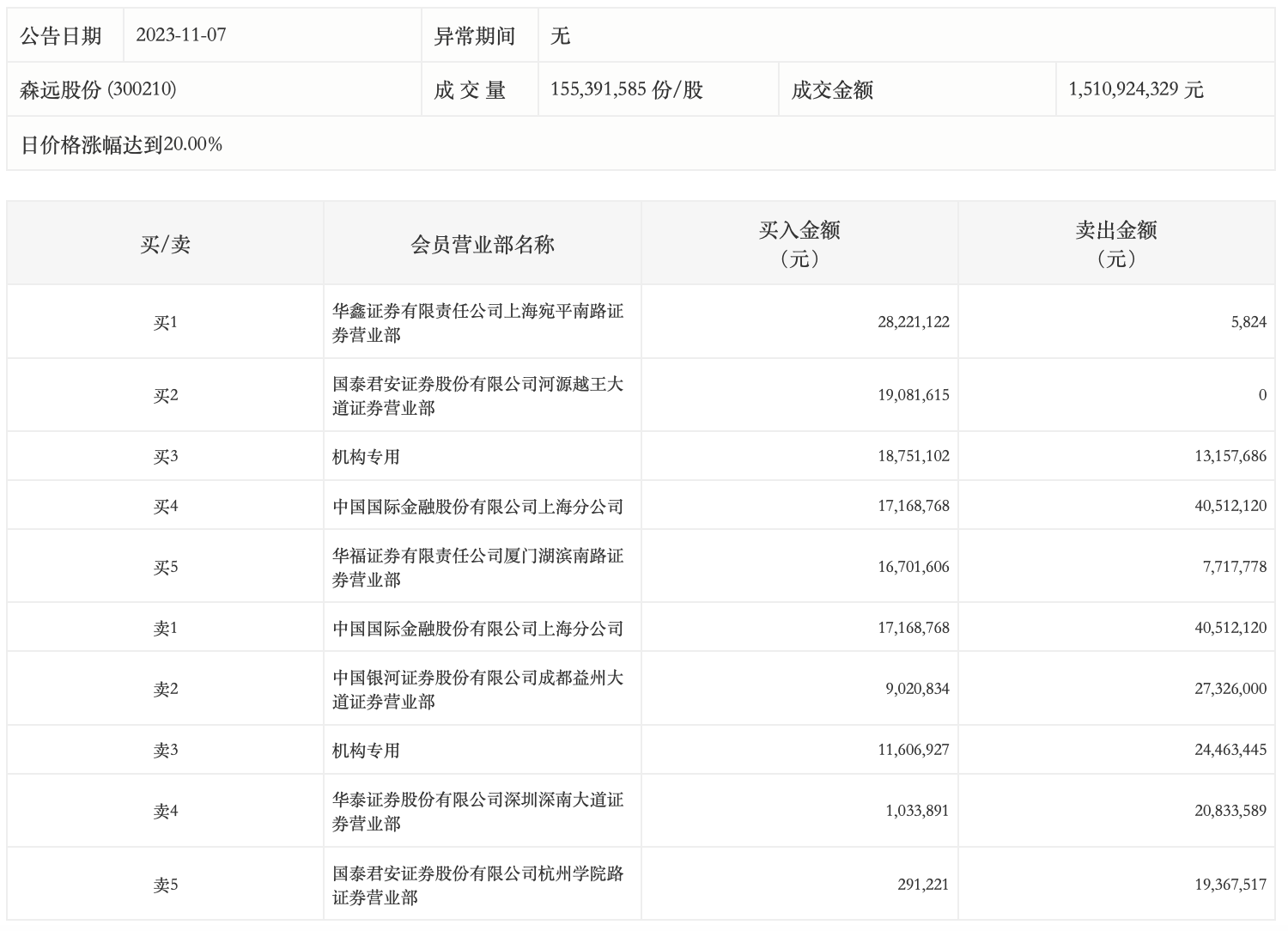
11月7日,森远股份今日涨停,龙虎榜数据显示,上榜营业部席位全天成交2.75亿元,占当日总成交金额比例为18.22%。其中,买入金额为1.22亿元,卖出金额为1.53亿元,合计净卖出3150.69万元。

具体来看,机构买入3035.8万元,卖出3762.11万元,合计净卖出726.31万元。此外,知名游资现身龙虎榜,炒股养家(华鑫证券上海宛平南路证券营业部)、国泰君安证券河源越王大道证券营业部分别买入2822.11万元、1908.16万元;中国国际金融上海分公司、中国银河证券成都益州大道证券营业部分别卖出4051.21万元、2732.60万元。