龙虎榜丨朗源股份今日涨停,知名游资著名刺客净买入1526.16万元

http://ddx.gubit.cn  2023-06-09 16:31  朗源股份(300175)公司分析

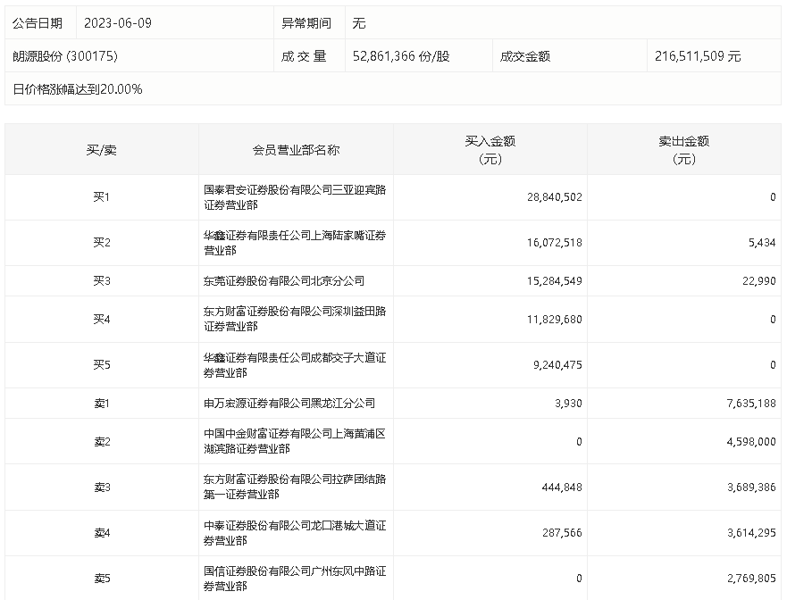
6月9日,朗源股份今日涨停,龙虎榜数据显示,上榜营业部席位全天成交1.04亿元,占当日总成交金额比例为48.19%。其中,买入金额为8200.41万元,卖出金额为2233.51万元,合计净买入5966.9万元。

具体来看,知名游资现身龙虎榜,著名刺客(东莞证券股份有限公司北京分公司)净买入1526.16万元。此外,国泰君安证券三亚迎宾路证券营业部、华鑫证券上海陆家嘴证券营业部分别买入2884.05万元、1607.25万元;申万宏源证券有限公司黑龙江分公司、中国中金财富证券有限公司上海黄浦区湖滨路证券营业部分别卖出763.52万元、459.80万元。