龙虎榜丨长信科技今日涨停,知名游资方新侠净买入2595.33万元

查股网  2024-08-29 21:17  长信科技(300088)个股分析

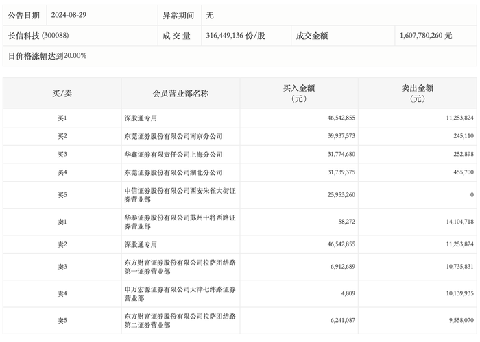
8月29日,长信科技今日涨停,龙虎榜数据显示,上榜营业部席位全天成交2.46亿元,占当日总成交金额比例为15.3%。其中,买入金额为1.89亿元,卖出金额为5674.61万元,合计净买入1.32亿元。

具体来看,知名游资现身龙虎榜,方新侠(中信证券股份有限公司西安朱雀大街证券营业部)净买入2595.33万元。此外,深股通专用、东莞证券南京分公司分别买入4654.29万元、3993.76万元;华泰证券苏州干将西路证券营业部、深股通专用分别卖出1410.47万元、1125.38万元。