当升科技:2024年第一季度净利润1.10亿元 同比下降74.36%

中证智能财讯 当升科技(300073)4月25日披露2024年第一季度报告。公司实现营业收入15.17亿元,同比下降67.67%;归母净利润1.1亿元,同比下降74.36%;扣非净利润1.04亿元,同比下降75.49%;经营活动产生的现金流量净额为-1.48亿元,上年同期为-8580.43万元;报告期内,当升科技基本每股收益为0.2179元,加权平均净资产收益率为0.84%。



2024年第一季度,公司毛利率为14.89%,同比下降1.54个百分点;净利率为7.01%,较上年同期下降2.17个百分点。

盈利能力方面, 2024年一季度公司加权平均净资产收益率为0.84%,同比下降2.84个百分点。公司2024年第一季度投入资本回报率为0.59%,较上年同期下降3.07个百分点。

2024年第一季度,公司经营活动现金流净额为-1.48亿元,同比减少6198.47万元;筹资活动现金流净额1.15亿元,同比增加5291.16万元;投资活动现金流净额-3.54亿元,上年同期为1.33亿元。

2024年第一季度,公司营业收入现金比为131.77%,净现比为-133.88%。

资产重大变化方面,截至2024年一季度末,公司应收账款较上年末减少19.08%,占公司总资产比重下降2.53个百分点;存货较上年末增加33.71%,占公司总资产比重上升1.60个百分点;货币资金较上年末减少6.75%,占公司总资产比重下降0.71个百分点;在建工程较上年末增加23.64%,占公司总资产比重上升0.70个百分点。

负债重大变化方面,截至2024年一季度末,公司应付票据较上年末减少48.37%,占公司总资产比重下降4.88个百分点;应付职工薪酬较上年末减少48.05%,占公司总资产比重下降0.59个百分点;租赁负债较上年末增加25.58%,占公司总资产比重上升0.50个百分点;应交税费较上年末减少88.64%,占公司总资产比重下降0.26个百分点。

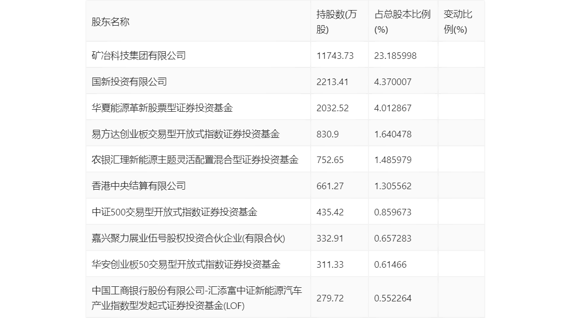
一季报显示,2024年一季度末公司十大流通股东中,新进股东为中证500交易型开放式指数证券投资基金、中国工商银行股份有限公司-汇添富中证新能源汽车产业指数型发起式证券投资基金(LOF),取代了上年末的中庚价值先锋股票型证券投资基金、华夏基金管理有限公司-社保基金2104组合。在具体持股比例上,矿冶科技集团有限公司、易方达创业板交易型开放式指数证券投资基金持股有所上升,农银汇理新能源主题灵活配置混合型证券投资基金、香港中央结算有限公司、华安创业板50交易型开放式指数证券投资基金持股有所下降。

筹码集中度方面,截至2024年一季度末,公司股东总户数为7.53万户,较上年末增长了1.4万户,增幅22.88%;户均持股市值由上年末的31.55万元下降至26.36万元,降幅为16.45%。
