龙虎榜丨欧比特今日涨17.1%,机构合计净买入6364.22万元

http://ddx.gubit.cn  2023-05-31 16:45  欧比特(300053)公司分析

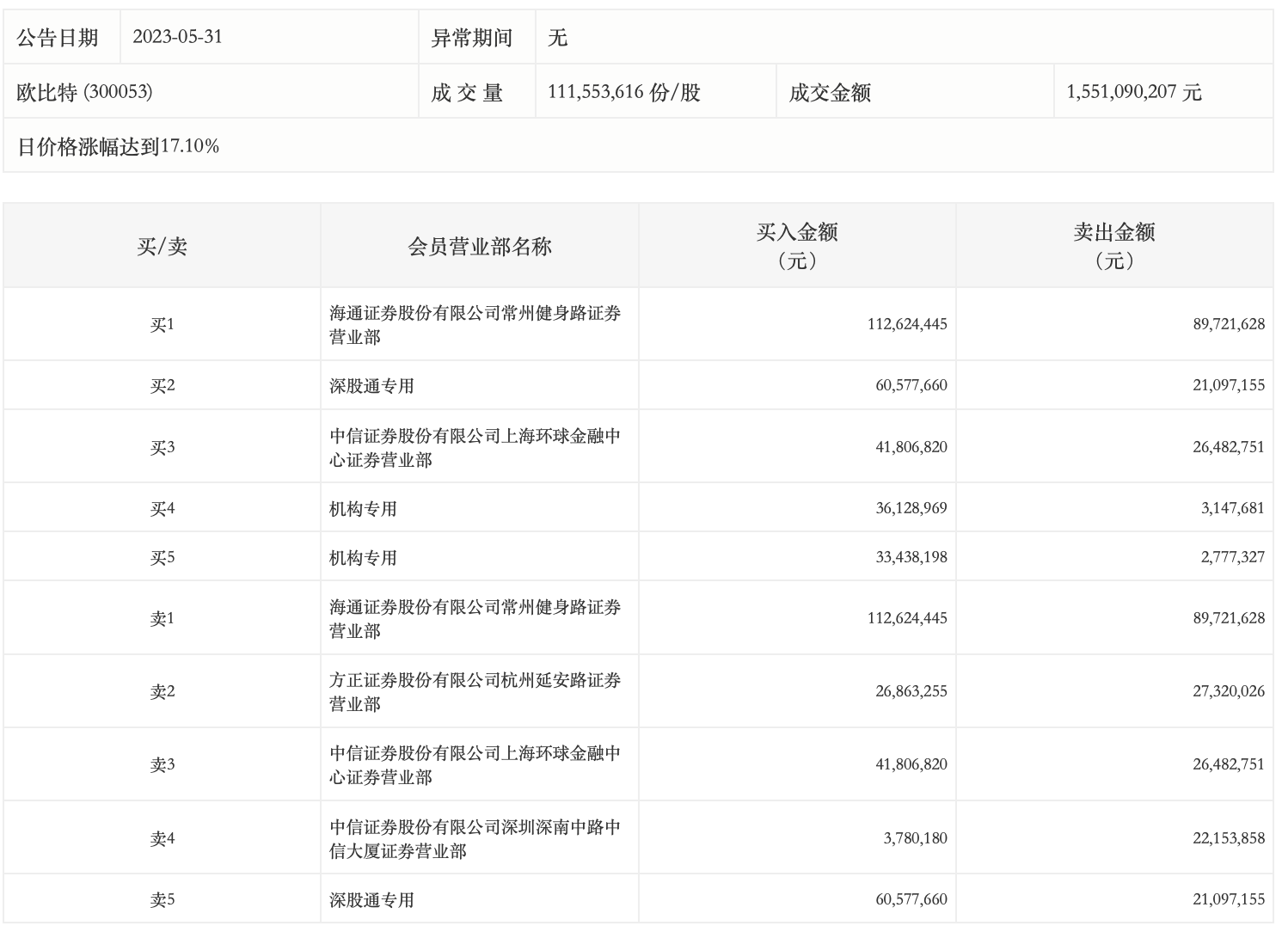
5月31日,欧比特今日涨17.1%,龙虎榜数据显示,上榜营业部席位全天成交5.08亿元,占当日总成交金额比例为32.75%。其中,买入金额为3.15亿元,卖出金额为1.93亿元,合计净买入1.23亿元。

具体来看,机构买入6956.72万元,卖出592.5万元,合计净买入6364.22万元。此外,海通证券常州健身路证券营业部、深股通专用分别买入1.13亿元、6057.77万元;海通证券常州健身路证券营业部、方正证券杭州延安路证券营业部分别卖出8972.16万元、2732.00万元。