龙虎榜丨楚天龙今日涨停,营业部席位合计净买入5388.52万元

http://ddx.gubit.cn  2023-10-23 21:09  楚天龙(003040)公司分析

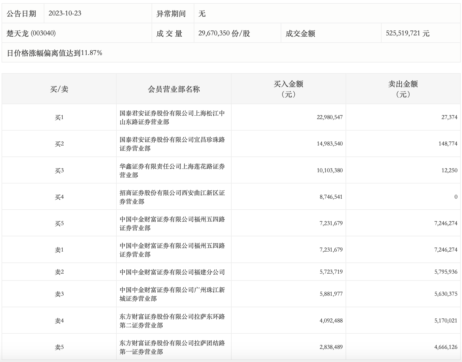
10月23日,楚天龙今日涨停,全天换手率达13.7%,振幅达12.31%。龙虎榜数据显示,营业部席位合计净买入5388.52万元。其中,国泰君安证券上海松江中山东路证券营业部、国泰君安证券宜昌珍珠路证券营业部分别买入2298.05万元、1498.35万元;中国中金财富证券有限公司福州五四路证券营业部、中国中金财富证券有限公司福建分公司分别卖出724.63万元、579.59万元。